grisulea Inviato 27 Ottobre 2022 Condividi Inviato 27 Ottobre 2022 27 minuti fa, acusticamente ha scritto: Un cambio di cavo di alimentazione (in realtà era una serie di due più questo ma solo l’ultimo ha permesso la sinergia generale) ha prodotto la quasi totale scomparsa di una fastidiosissima sensazione di distorsione e di grana, avvertibile molto sulle voci, più elevata dinamica, una migliore e più precisa immagine, una generale sensazione di maggior musicalità e naturalezza. E chi lo nega, l'ho scritto a Leo, se l'indagine si ferma alla rif a cosa serve il resto? Io su una tratta di 10 metri che avevo se non andavo di xlr col cavolo che non ronzava. Situazione estrema, non vedo perché non ci possano esserne di intermedie. Schermare i cavi è probabile porti a differenze, basta che ci sia un problema. Risolto il problema il resto non può che essere differenza piccola. Avevi un problema ed empiricamente lo hai risolto. Ora prova tutti i cavi che ti pare sul fare di quello, cioè tecnicamente equivalenti e noteria poca o nulla differenza. Il problema non è il cavo, il problema è il problema, il cavo la via per risolverlo. Almeno nel tuo caso. Link al commento https://melius.club/topic/10895-perch%C3%A9-non-basta-il-cavo-usb-da-stampante-reprise/page/7/#findComment-625169 Condividi su altri siti Altre opzioni di condivisione...
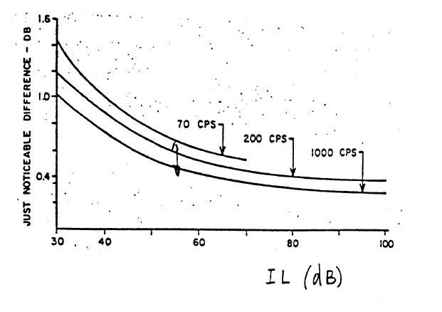
ClaveFremen Inviato 27 Ottobre 2022 Condividi Inviato 27 Ottobre 2022 14 minuti fa, grisulea ha scritto: Ho fatto un esempio che potesse darci una idea delle quantità. Guarda caso la figura 2.26 non fa che confermare. Posto la figura in modo che tutti possano vederla direttamente: (Fonte: http://www.dei.unipd.it/~musica/IM/cap2.pdf) 9 ore fa, ClaveFremen ha scritto: Al capitolo 2.11 Misure di intensità acustica si legge: Si può comunque dire che il JND di intensità assume valori massimi dell’ordine di 1,5 dB e valori minimi intorno ai 0,3 dB (figura 2.26). Dalla figura 2.26 si inferisce che 0,3dB è la soglia a 100dB di livello sonoro, 0,4dB a 60dB di livello sonoro. La figura illustra quello che ho riportato. 30 minuti fa, grisulea ha scritto: A me quella figura pare esattamente quello che ho scritto, a te no? Magari l'ho male interpretata? No, anche perché la figura si riferisce alla soglia di udibilità mentre tu: 9 ore fa, grisulea ha scritto: Quanto è per te notevole? Quanto lo è per me? Rispetto alle quantità di cui abbiamo scritto sino ad ora notevole potrebbe essere una variazione equivalente a 10 db. Media 5 db, piccola 3 db, percettibile 1 db, sotto 1, irrisoria. Il punto chiave è il fatto che ti riferisci a differenze notevoli, degne di nota, in questo senso la tua affermazione è condivisibile tranne che per due aspetti: percettibile 1 db, sotto 1, irrisoria. è una tua lecita opinione ma la soglia di udibilità della differenza è più bassa non tiene conto delle Curve di eguale intensità percepita 33 minuti fa, grisulea ha scritto: Ho scritto che sotto un db siamo a variazioni irrilevanti, se sono alla soglia, non possiamo certo ritenerle di notevole effetto. E se fosero sopra sarebbero udibili da tutti. Non ti pare? Poi parla di toni puri. Concordo, non sono di notevole effetto ma sopra 0.3dB sono comunque udibili. 😉 Il fatto che parli di toni puri in questo caso non mi pare che faccia nessuna differenza. Link al commento https://melius.club/topic/10895-perch%C3%A9-non-basta-il-cavo-usb-da-stampante-reprise/page/7/#findComment-625187 Condividi su altri siti Altre opzioni di condivisione...
gobert4 Inviato 27 Ottobre 2022 Condividi Inviato 27 Ottobre 2022 Secondo me sarebbe opportuno indicare esattamente a che dB vi riferite, perché a leggervi, a me pare stiate parlando di cose diverse. Grisulea faceva riferimento ad una variazione nella risposta in frequenza di un cavo. Tale variazione, dovuta a x parametri (r.i.f., thd+N, ecc ecc) è misurata a livello elettrico, ma come? La state misurando su di un software, quindi in dBFS? La state misurando con riferimento in tensione (V) quindi dBV? In potenza?Quindi dBm E se in potenza, su che impedenza?50Ω?600Ω? ClaveFremen, porta a riferimento la JND (espressa in dB) in funzione della IL (che pure essa è espressa in dB). Nella suddetta figura (2.2.6) si fa riferimento a valori che non esprimono chiaramente il livello sonoro percepito dalle nostre orecchie, non si fa ancora riferimento alla SPL e siamo ancora lontani da rappresentare al meglio quello che percepiamo se non si tiene conto della ponderazione in relazione alle scale isofoniche. Sono tutti dB, ma tutti diversi tra loro e sono tutti valori diversi non confrontabili se non con equivalenze e nulla più. Vista la complessità della materia, sarebbe opportuno essere un pelo più chiari nelle indicazioni altrimenti si fa fatica a capirci qualcosa e sarebbe secondo me opportuno cominciare a tenere a riferimento solo le scale più rappresentative e nel caso, indicando sempre anche (come nella spl ponderata), la relativa pesatura perché pure qua, ci sono scarti di anche 20dB a certe frequenze, tra una pesatura C ed una A. 1 Link al commento https://melius.club/topic/10895-perch%C3%A9-non-basta-il-cavo-usb-da-stampante-reprise/page/7/#findComment-625190 Condividi su altri siti Altre opzioni di condivisione...
acusticamente Inviato 27 Ottobre 2022 Condividi Inviato 27 Ottobre 2022 @grisulea se ho ben capito il tuo pensiero tu dici che i problemi vanno risolti per categoria. Se mi perde un rubinetto identifico la soluzione con un cambio di guarnizione ma se ne metto una da 30 centesimi o da 2 euro il risultato non cambia. È giusto ? Però nella situazione riportata ho provato anche un altro cavo di alimentazione e il risultato era lontano da quello poi ottenuto… Per non parlare poi del fatto che molti considerano il cavo di alimentazione come ottimale e qualsiasi cambio come pippa audiofila Link al commento https://melius.club/topic/10895-perch%C3%A9-non-basta-il-cavo-usb-da-stampante-reprise/page/7/#findComment-625194 Condividi su altri siti Altre opzioni di condivisione...
scroodge Inviato 27 Ottobre 2022 Condividi Inviato 27 Ottobre 2022 2 ore fa, leonida ha scritto: nei cavi le sensazioni di raddoppio del livello di alcune gamme dello spettro Io non ho mai sentito, né valutato ad orecchio una quantità pari al raddoppio del livello di alcune gamme, causato da un cavo (e ne ho avuti e provati tanti, di tutti i prezzi) in più di 40 di vita audiofila e pro. Tu sì? Ne prendo atto. 1 Link al commento https://melius.club/topic/10895-perch%C3%A9-non-basta-il-cavo-usb-da-stampante-reprise/page/7/#findComment-625195 Condividi su altri siti Altre opzioni di condivisione...
grisulea Inviato 27 Ottobre 2022 Condividi Inviato 27 Ottobre 2022 4 minuti fa, ClaveFremen ha scritto: Concordo, non sono di notevole effetto ma sopra 0.3dB sono comunque udibili. 😉 Il fatto che parli di toni puri in questo caso non mi pare che faccia nessuna differenza. La fa eccome, con la musica la solfa cambia. Comunque concordi, un passo avanti è fatto. Abbiamo definito che in prossimità della soglia udibile le variazioni sono irrilevanti. 4 minuti fa, ClaveFremen ha scritto: percettibile 1 db, sotto 1, irrisoria. è una tua lecita opinione ma la soglia di udibilità della differenza è più bassa non tiene conto delle Curve di eguale intensità percepita Ancora? E' un esempio. Anche se la soglia è più bassa sempre di irrisorio parliamo. Certo che è mia idea se era un esempio. Ti sembra che 0,4db a a 60 db sia una variazione importante se siamo alla soglia su segnali puri? (hai già confermato che non lo è) L'esempio voleva essere, data una variazione di qualcosa di "sconosciuto", a quale livello di variazione potesse essere equiparata per essere o meno rilevante. Può non essere condiviso. Cosa proponi in alternativa? Quale livello "equivalente" di qualcosa che nessuno allo stato attuale può verificare perché non ancora scoperto ritieni importante, determinante e quale irrisorio? La tua opinione. La mia pare molto vicina al grafico guarda caso, pur avendola fatta a mano con due conti su un folgio excel partendo dal dato che il raddoppio necessità di 10 db. Ti faccio notare di nuovo che quella immagine non solo conferma quanto ho detto, rincara la dose con lo scendere del livello. A certe pressioni è irrilevante anche 1,5 db. Link al commento https://melius.club/topic/10895-perch%C3%A9-non-basta-il-cavo-usb-da-stampante-reprise/page/7/#findComment-625210 Condividi su altri siti Altre opzioni di condivisione...
gobert4 Inviato 27 Ottobre 2022 Condividi Inviato 27 Ottobre 2022 10 minuti fa, scroodge ha scritto: Io non ho mai sentito e né valutato ad orecchio una quantità pari al raddoppio del livello di alcune gamme, in nessun cavo (e ne ho avuti e provati tanti, di tutti i prezzi) in più di 40 di vita audiofila e pro. Tu sì? Ne prendo atto. certo che è possibile... basta ascoltare il tutto in un ambiente non trattato e spostare la testa di qualche cm, ma qui entra in gioco l'acustica dell'ambiente, non certo una differenza sul segnale riprodotto. Un fonometro confermerebbe il tutto, ma siamo ben lontani dalla discussione del thread🙂 1 Link al commento https://melius.club/topic/10895-perch%C3%A9-non-basta-il-cavo-usb-da-stampante-reprise/page/7/#findComment-625217 Condividi su altri siti Altre opzioni di condivisione...
ClaveFremen Inviato 27 Ottobre 2022 Condividi Inviato 27 Ottobre 2022 2 minuti fa, grisulea ha scritto: Abbiamo definito che in prossimità della soglia udibile le variazioni sono irrilevanti. Non è quello che ho detto, concordo che non sono notevoli ma è diverso dire che sono irrilevanti. Il punto è se sono udibili, nel caso lo siano la valutazione di rilevanza è soggettiva in base a quali parametri sonori sono importanti per noi. Rimango dell'idea che il grafico non confermi affatto la tua affermazione precedente ed a maggior ragione questa: 6 minuti fa, grisulea ha scritto: A certe pressioni è irrilevante anche 1,5 db A meno che tu non intenda alle pressioni sonore più basse. Link al commento https://melius.club/topic/10895-perch%C3%A9-non-basta-il-cavo-usb-da-stampante-reprise/page/7/#findComment-625229 Condividi su altri siti Altre opzioni di condivisione...
grisulea Inviato 27 Ottobre 2022 Condividi Inviato 27 Ottobre 2022 21 minuti fa, gobert4 ha scritto: Grisulea faceva riferimento ad una variazione nella risposta in frequenza di un cavo. No, in realtà cercavo di capire cosa è rilevante e cosa no per darci un punto fermo. Per farlo ho preso a riferimento un livello di ascolto x ed ipitizzato una interferenza che vada a disturbarlo, un segnale sovrapposto. Quando questo segnale diventa rilevante e quando no? E giù tutto il pippone di ipotesi. Arrivati ad una condivisione in linea gnerale, ipotizzando variazioni a noi sconosciute e non misurabili, equipararle alla ipotesi tradotto in db. Insomma andando giù di scure, non cercando i termini corretti. Direi che il grafico sia chiaro in tal senso. Uno poi può dire che 0,4 db è rilevante, fatti suoi. Link al commento https://melius.club/topic/10895-perch%C3%A9-non-basta-il-cavo-usb-da-stampante-reprise/page/7/#findComment-625231 Condividi su altri siti Altre opzioni di condivisione...
grisulea Inviato 27 Ottobre 2022 Condividi Inviato 27 Ottobre 2022 2 minuti fa, ClaveFremen ha scritto: A meno che tu non intenda alle pressioni sonore più basse. Certo che intendo quello, sta scritto nel grafico. 2 minuti fa, ClaveFremen ha scritto: Non è quello che ho detto, concordo che non sono notevoli ma è diverso dire che sono irrilevanti. Permettimi, ai fini dell'ascolto lo sono, se non concordi peccato, non ho detto non udibili. Rilevano se fai una analisi della soglia ovviamente, se ascolti musica, permettimi, col piffero. Altrimenti proponi la tua scala personale. Direi che la tabella ha già abbondantemente tagliato la testa al toro. Link al commento https://melius.club/topic/10895-perch%C3%A9-non-basta-il-cavo-usb-da-stampante-reprise/page/7/#findComment-625239 Condividi su altri siti Altre opzioni di condivisione...
scroodge Inviato 27 Ottobre 2022 Condividi Inviato 27 Ottobre 2022 33 minuti fa, gobert4 ha scritto: erto che è possibile... basta ascoltare il tutto in un ambiente non trattato e spostare la testa di qualche cm, ma qui entra in gioco l'acustica dell'ambiente, non certo una differenza sul segnale riprodotto. causato dal cavo, aggiungerei.., ho infatti modficiato il mio post. Il problema comuqnue non è i lcavo in sè ma come viene percepito il suo apporto. A parità di stimolo uno potrebbe dire: 10%, un altro 100%... Di questo aspetto, ovvero la estrema variabilità di dare giudizi ad orecchio in mancanza di un riferimento, si divrebbe tenere in debito conto quanto si fanno confronti fra cavi. Quella che io giudico una grande variazione, un altro potrebbe giudicarla una piccola variazione Link al commento https://melius.club/topic/10895-perch%C3%A9-non-basta-il-cavo-usb-da-stampante-reprise/page/7/#findComment-625252 Condividi su altri siti Altre opzioni di condivisione...
acusticamente Inviato 27 Ottobre 2022 Condividi Inviato 27 Ottobre 2022 12 minuti fa, scroodge ha scritto: Di questo aspetto, ovvero la estrema variabilità di dare giudizi ad orecchio in mancanza di un riferimento, si divrebbe tenere in debito conto quanto si fanno confronti fra cavi. Quella che io giudico una grande variazione, un altro potrebbe giudicarla una piccola variazione Ma infatti questo è un punto importantissimo. Da un lato si dà importanza alla propria sensazione, che giustamente può essere o non essere proporzionale ed estremamente variabile a seconda del singolo. Dall’altro si tenta di oggettivizzare legando sensazioni a numeri. Ognuno ha le sue ragioni ma non so se una sintesi sia impossibile o solo molto complicata. Link al commento https://melius.club/topic/10895-perch%C3%A9-non-basta-il-cavo-usb-da-stampante-reprise/page/7/#findComment-625271 Condividi su altri siti Altre opzioni di condivisione...
ClaveFremen Inviato 27 Ottobre 2022 Condividi Inviato 27 Ottobre 2022 51 minuti fa, grisulea ha scritto: Rilevano se fai una analisi della soglia ovviamente, se ascolti musica, permettimi, col piffero. Questa è la tua personale opinione. Link al commento https://melius.club/topic/10895-perch%C3%A9-non-basta-il-cavo-usb-da-stampante-reprise/page/7/#findComment-625309 Condividi su altri siti Altre opzioni di condivisione...
audio2 Inviato 27 Ottobre 2022 Condividi Inviato 27 Ottobre 2022 1 ora fa, ClaveFremen ha scritto: percettibile 1 db, sotto 1, irrisoria. è una tua lecita opinione ma la soglia di udibilità della differenza è più bassa questo mi fa piacere leggerlo perchè lo condivido. piccolo esempio ot: anni fa quando correvo in bici mi faccio cambiare le placchette sotto scarpa dal meccanico, e ci andava uno spessore di pochi decimi di millimetro. lui se ne dimentica uno dei due, il giorno dopo pedalo e mi viene fuori un dolore. torno li, glielo dico, no impossibile, controlla e in una scarpa mancava un pezzo. la differenza tra una scarpa e l' altra non si riusciva nemmeno a misurare da quanto poca era. Link al commento https://melius.club/topic/10895-perch%C3%A9-non-basta-il-cavo-usb-da-stampante-reprise/page/7/#findComment-625326 Condividi su altri siti Altre opzioni di condivisione...
audio2 Inviato 27 Ottobre 2022 Condividi Inviato 27 Ottobre 2022 12 ore fa, Ggr ha scritto: le differenze non sarebbero suffragate dalle misure all'umanità conosciute anche qua dipende. i costruttori seri cercano la qualità. per esempio per i cavi di potenza, bassa capacità, bassa induttanza, bassa resistenza ed alta velocità di trasmissione. poi che ci riescano ed a che costi è un altro discorso, come pure ancora diverso è come si interfaccia il prodotto tra due elettroniche o tra ampli e casse. Link al commento https://melius.club/topic/10895-perch%C3%A9-non-basta-il-cavo-usb-da-stampante-reprise/page/7/#findComment-625336 Condividi su altri siti Altre opzioni di condivisione...
Ggr Inviato 27 Ottobre 2022 Condividi Inviato 27 Ottobre 2022 29 minuti fa, audio2 ha scritto: anche qua dipende. i costruttori seri cercano la qualità. per esempio per i cavi di potenza, bassa capacità, bassa induttanza, bassa resistenza ed alta velocità di trasmissione. poi che ci riescano ed a che costi è un altro discorso, come pure ancora diverso è come si interfaccia il prodotto tra due elettroniche o tra ampli e casse Tutto vero. Ma appunto, stiamo parlando di parametri ampiamente conosciuti e studiati. Stiamo parlando di criteri di buona tecnica. Impedenze giuste, materiali buoni, reiezione dei disturbi. Ora, se prendiamo 10 cavi usb, di marche diverse, ma che alle misure, ( umanamente conosciute) sono praticamente identici, o introducono variazioni sepolte a -90 db, e si sostiene che suonano diversi, si sta dicendo che esistono altri parametri che solo i costruttori conoscono, manipolano a loro piacimento. Altrimenti la cosa non si spiega. Ora, ammesso che esista una simile dimensione, e per me non esiste, potrei crederci per un cavo di segnale o di potenza. Ma un cavo usb... Alla fine è il solito ritornello. Quando, prove alla mano, si dimostra che sentire differenze è umanamente impossibile, la risposta, nemmeno troppo velata è: parla per te, io le sento... e allora ciao... 1 1 Link al commento https://melius.club/topic/10895-perch%C3%A9-non-basta-il-cavo-usb-da-stampante-reprise/page/7/#findComment-625377 Condividi su altri siti Altre opzioni di condivisione...
audio2 Inviato 27 Ottobre 2022 Condividi Inviato 27 Ottobre 2022 15 minuti fa, Ggr ha scritto: Ma un cavo usb guarda non so che dire per nervosismo qualche giorno fa invece che comperarmi una bella pallina antistress tutta colorata mi sono preso 4 metri di cavo di alimentazione e ho ricablato quei 4 collegamenti in croce che ho da elettronica a ciabatta. fatto rodaggio, suona meglio di prima, il cavo è migliore e un pò si sente. fin qua tutto ok. poi per fare delle curve più idonee sposto il cavo della meccanica cd dal primo posto in ciabatta all' ultimo. però nel primo posto anche se tocca altri fili suona un poco meglio, poco ma si sente. dalla meccanica dovrebbero uscire solo numeri ( spero di non sbagliare ) poi se uno misura cosa può uscire di diverso ? ( non ne ho idea , la distorsione, la forma d' onda, cosa ? è alimentazione ) però il suono cambia. perchè ? @ClaveFremen @leonida Link al commento https://melius.club/topic/10895-perch%C3%A9-non-basta-il-cavo-usb-da-stampante-reprise/page/7/#findComment-625395 Condividi su altri siti Altre opzioni di condivisione...
Ggr Inviato 27 Ottobre 2022 Condividi Inviato 27 Ottobre 2022 Non sto dicendo che non può cambiare. Specie sui cavi di alimentazione. Per i cavi usb, sto dicendo che se cambia, si può vedere dalle misure. Vedi rumore captato, jitter introdotto dal cavo ecc. Ma se 2 cavi, alla miaura sono identici, se all'uscita analogica del dac, danno risultati identici, non mi si può dire che suonano diversi. 1 Link al commento https://melius.club/topic/10895-perch%C3%A9-non-basta-il-cavo-usb-da-stampante-reprise/page/7/#findComment-625427 Condividi su altri siti Altre opzioni di condivisione...
Messaggi raccomandati
Crea un account o accedi per lasciare un commento
Devi essere un membro per lasciare un commento
Crea un account
Iscriviti per un nuovo account nella nostra community. È facile!
Registra un nuovo accountAccedi
Sei già registrato? Accedi qui.
Accedi Ora