granosalis Inviato 13 Gennaio 2024 Condividi Inviato 13 Gennaio 2024 29 minuti fa, mariovalvola ha scritto: Apprezzo la possibilità di leggere ogni tipo di formato in dsd ( il Venus era più indietro). Come la stragrande maggioranza degli R2R dovrebbe convertire il DSD in PCM per suonarlo, ma se si hanno dei files in DSD é sempre una comodità. Link al commento https://melius.club/topic/17824-denafrips-ares-12th-1-r2r-anniversary-edition-meritatamente-best-in-show/page/3/#findComment-1072383 Condividi su altri siti Altre opzioni di condivisione...
Ultima Legione @ Inviato 13 Gennaio 2024 Autore Condividi Inviato 13 Gennaio 2024 39 minuti fa, mariovalvola ha scritto: Il rodaggio, menzionato anche nel manuale, è una novità per me avendo acquistato l'altro DAC Denafrips usato. . Ben più di ogni altra elettronica posseduta e quasi al pari di un diffusore, il rodaggio su questo DAC (ma sono convinto come un pò su tutti gli R2R Ladder) cambia in modo importante e significativo il Sound generale in meglio. . Non solo, aggiungo che dopo qualche decina di ore ho avuto la sensazione addirittura di un peggioramento ma che dopo 7/8 giorni di funzionamento in continuo è svanito, quasi come una nebbia che si dirada, restituendo e facendo spazio ad uno suadente Sound pieno di corpo, spessore e grande senso d'aria. . 39 minuti fa, mariovalvola ha scritto: Apprezzo la possibilità di leggere ogni tipo di formato in dsd . Sulla gestione del formato DSD non c'è storia....., al di là del gestire addirittura il DSD1024 (in verità non sò neanche se esistano brani in questo formato) e la features dell'Over Sampling (che però io non uso perchè gli preferisco musicalmente l'Up Sampling che effettuo sui brani PCM da AUDIRVANA) avendo tanti files in formato DSD è il motivo che mi ha portato a preferire l' ARES 12TH-1 Anniversary Edition rispetto al Metrum Acoustics Amethyst. . Link al commento https://melius.club/topic/17824-denafrips-ares-12th-1-r2r-anniversary-edition-meritatamente-best-in-show/page/3/#findComment-1072385 Condividi su altri siti Altre opzioni di condivisione...
Ultima Legione @ Inviato 13 Gennaio 2024 Autore Condividi Inviato 13 Gennaio 2024 19 minuti fa, granosalis ha scritto: Come la stragrande maggioranza degli R2R dovrebbe convertire il DSD in PCM per suonarlo, ma se si hanno dei files in DSD é sempre una comodità. . Ciao Giuseppe, è sempre un grande piacere leggerti su queste pagine!! . In verità quella della del modo con il quale l'Ares gestisce esattamente il formato DSD è un dettaglio che incuriosisce anche me e girerò la domanda al buon Alvin per sapere come stanno le cose. . 1 Link al commento https://melius.club/topic/17824-denafrips-ares-12th-1-r2r-anniversary-edition-meritatamente-best-in-show/page/3/#findComment-1072396 Condividi su altri siti Altre opzioni di condivisione...
stefano_mbp Inviato 13 Gennaio 2024 Condividi Inviato 13 Gennaio 2024 43 minuti fa, granosalis ha scritto: Come la stragrande maggioranza degli R2R dovrebbe convertire il DSD in PCM per suonarlo, ma se si hanno dei files in DSD é sempre una comodità. L’Ares viene definito R2R + DSD … da cui si deduce che il DSD fa un percorso diverso e non viene quindi convertito in PCM (come invece fanno i dac Chord) … inoltre Jussi Laako (HQPlayer) non ha assolutamente messo in evidenza questa conversione (lo cita tra l’altro tra i dac consigliati) mentre per i dac Chord sconsiglia di fatto l’upsampling a DSD 1 Link al commento https://melius.club/topic/17824-denafrips-ares-12th-1-r2r-anniversary-edition-meritatamente-best-in-show/page/3/#findComment-1072405 Condividi su altri siti Altre opzioni di condivisione...
Ultima Legione @ Inviato 13 Gennaio 2024 Autore Condividi Inviato 13 Gennaio 2024 1 minuto fa, stefano_mbp ha scritto: L’Ares viene definito R2R + DSD … da cui si deduce che il DSD fa un percorso diverso . Nutro anche io questa convinzione. Ho comunque già girato la specifica domanda in Vishine Audio. . Link al commento https://melius.club/topic/17824-denafrips-ares-12th-1-r2r-anniversary-edition-meritatamente-best-in-show/page/3/#findComment-1072408 Condividi su altri siti Altre opzioni di condivisione...
mariovalvola Inviato 13 Gennaio 2024 Condividi Inviato 13 Gennaio 2024 Ora, accendo l'ampli single ended e "scaldo" la Stax SR-009S. Il vero vantaggio dei Metrum è l'importatore: il sig. Ventura è un operatore molto serio. Purtroppo, trovo incomprensibile la scelta di non leggere files dsd. 1 Link al commento https://melius.club/topic/17824-denafrips-ares-12th-1-r2r-anniversary-edition-meritatamente-best-in-show/page/3/#findComment-1072443 Condividi su altri siti Altre opzioni di condivisione...
Ultima Legione @ Inviato 13 Gennaio 2024 Autore Condividi Inviato 13 Gennaio 2024 3 ore fa, mariovalvola ha scritto: Purtroppo, trovo incomprensibile la scelta di non leggere files dsd. . Esiste tutta una corrente di pensiero (in vero minoritaria e marginale) che disconosce e addirittura discredita il formato DSD, in funzione di un oggettivo "rumore" digitale superiore al formato PCM e Metrum Acoustic è il più irriducibilile brand fautore di questa opinione. . Ma nella realtà dei fatti credo che senza scandalo alcuno si possa affermare che i DSD tante volte, a parità di brano, esprimano comunque una musicalità e un sound diverso rispetto all'analogo in PCM e senza arrivare ad affermare che sia necessariamente migliore (anche se personalmente il più delle volte lo preferisco marcatamente), certo però non lo è da meno. . 2 Link al commento https://melius.club/topic/17824-denafrips-ares-12th-1-r2r-anniversary-edition-meritatamente-best-in-show/page/3/#findComment-1072631 Condividi su altri siti Altre opzioni di condivisione...
max Inviato 13 Gennaio 2024 Condividi Inviato 13 Gennaio 2024 3 ore fa, Ultima Legione @ ha scritto: Metrum Acoustic è il più irriducibilile brand fautore di questa opinione. commercialmente potrebbe essere una scelta anche valida per ‘’uscire dal gruppo’’, in fondo i fruitori di file locali ormai sono percentualmente pochi …. altri produttori ultimamente per accontentare chi vuole dsd senza dover condizionare a questo le proprie scelte progettuali ‘’affiancano’’ semplicemente una sezione dsd ad hoc (spesso un semplice chip o poco più) Link al commento https://melius.club/topic/17824-denafrips-ares-12th-1-r2r-anniversary-edition-meritatamente-best-in-show/page/3/#findComment-1072934 Condividi su altri siti Altre opzioni di condivisione...
massimojk Inviato 14 Gennaio 2024 Condividi Inviato 14 Gennaio 2024 Grazie per la segnalazione @Ultima Legione @ , oltre al tuo parere leggo in rete recensioni positive su questo dac nella versione 12 anniversario. Solo una cosa mi sembra di capire che alcuni recensori lo hanno confrontato con un suo concorrente (per fascia di prezzo) il gustare r26 e trovano che nella versione liscia quest'intimo sia leggermente migliore ma le cose cambiano se si aggiunge all'ares l'iris (sembra un gioco di parole). Con quest'ultima configurazione si ritiene l'accoppiata in casa Denafrips leggermente migliore. La cosa personalmente non mi sorprende visto che la qualità si paga e due prodotti, progettati e realizzati in un arco temporale confrontabile, con costi confrontabili devono offrire una qualità confrontabile. Visto che sto prendendo in considerazione la tecnologia r2r secondo la tua esperienza con questo giocattolo in caso di accensione e ascolto immediato, passate le 100/200 ore di rodaggio, quanta qualità di riproduzione perdo rispetto al risultato che otterrei dopo ore di accensione? Insomma suona al 20%, al 40% all'80%? Ovviamente il quesito vale per tutti i possessori di dac r2r. Grazie e buona giornata Link al commento https://melius.club/topic/17824-denafrips-ares-12th-1-r2r-anniversary-edition-meritatamente-best-in-show/page/3/#findComment-1073427 Condividi su altri siti Altre opzioni di condivisione...
mariovalvola Inviato 14 Gennaio 2024 Condividi Inviato 14 Gennaio 2024 @massimojk Da anni, uso anche un Denafrips Venus prima serie. Quando vado in vacanza, quando arrivano temporali, stacco ogni cosa dall'impianto elettrico. Dopo poche ore, per me, torna sufficientemente in forma. Link al commento https://melius.club/topic/17824-denafrips-ares-12th-1-r2r-anniversary-edition-meritatamente-best-in-show/page/3/#findComment-1073446 Condividi su altri siti Altre opzioni di condivisione...
massimojk Inviato 14 Gennaio 2024 Condividi Inviato 14 Gennaio 2024 18 minuti fa, mariovalvola ha scritto: Dopo poche ore, per me, torna sufficientemente in forma. grazie per il tuo riscontro, questa cosa mi preoccupa perché spesso mi capita di tornare ed avere giusto il tempo di ascoltare un singolo disco e non vorrei farlo in modo insoddisfacente. A dire il vero avendo un ampli ibrido anche questo comincia a suonare al meglio dopo un paio di ore ma pronti partenza via e offre già una discreta/buona qualità. Link al commento https://melius.club/topic/17824-denafrips-ares-12th-1-r2r-anniversary-edition-meritatamente-best-in-show/page/3/#findComment-1073467 Condividi su altri siti Altre opzioni di condivisione...
mariovalvola Inviato 14 Gennaio 2024 Condividi Inviato 14 Gennaio 2024 Ma lasciare acceso un dac, non ti fa aumentare sensibilmente i consumi domestici. 1 Link al commento https://melius.club/topic/17824-denafrips-ares-12th-1-r2r-anniversary-edition-meritatamente-best-in-show/page/3/#findComment-1073484 Condividi su altri siti Altre opzioni di condivisione...
mariovalvola Inviato 14 Gennaio 2024 Condividi Inviato 14 Gennaio 2024 Comunque, basta lasciarlo in standby dopo il rodaggio e te lo ritrovi ragionevolmente pronto quando lo usi 1 Link al commento https://melius.club/topic/17824-denafrips-ares-12th-1-r2r-anniversary-edition-meritatamente-best-in-show/page/3/#findComment-1073557 Condividi su altri siti Altre opzioni di condivisione...
Max440 Inviato 14 Gennaio 2024 Condividi Inviato 14 Gennaio 2024 4 ore fa, mariovalvola ha scritto: Ma lasciare acceso un dac, non ti fa aumentare sensibilmente i consumi domestici. 20 watt mediamente. Infatti il mio Wadia X32 è perennemente acceso da quando lo ho acquistato usato circa 10 anni fa ... Ed ora il nuovo Metrum Amethyst è sempre acceso, anche perchè altrimenti ci mette almeno un oretta per andare a regime Link al commento https://melius.club/topic/17824-denafrips-ares-12th-1-r2r-anniversary-edition-meritatamente-best-in-show/page/3/#findComment-1073835 Condividi su altri siti Altre opzioni di condivisione...
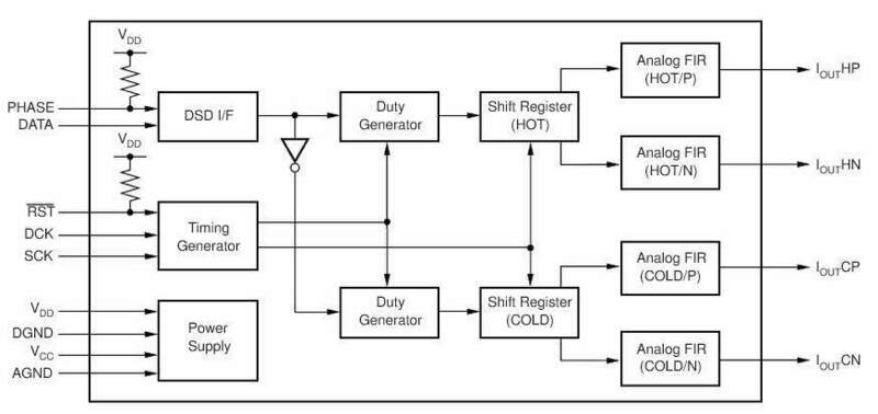
Ultima Legione @ Inviato 15 Gennaio 2024 Autore Condividi Inviato 15 Gennaio 2024 Il 13/1/2024 at 08:20, granosalis ha scritto: Come la stragrande maggioranza degli R2R dovrebbe convertire il DSD in PCM per suonarlo . Caro Giuseppe, . a confermare le Tue supposizioni e a chiarimento dei miei dubbi e delle supposizioni del buon @stefano_mbp, appena inviatami dal Sig. Alvin CHEE, posto di seguito la dettagliata risposta tecnica del CEO di DENAFRIPS Mr. ZHAO: . ........ le nostre reti R-2R possono convertire direttamente segnali PCM con una frequenza di campionamento fino a 24.576 MHz e possono convertire direttamente segnali DSD nativi a 1 bit con una frequenza di campionamento compresa tra DSD64 e DSD512. . Tuttavia, la qualità del suono ottenuta con la conversione diretta non è ideale, in quanto si verifica un ampio rumore di fondo digitale, per cui la conversione diretta non è, a nostro avviso, la soluzione migliore. . Utilizziamo una tecnologia di elaborazione interna simile a quella dell' integrato Texas Instruments DSD1700. . Schema funzionale TI DSD1700 . Utilizziamo un filtro FIR analogico per convertire il segnale DSD multilivello a 6 bit tramite FPGA, prima di inviare i segnali alle reti R-2R. . Non si tratta di una limitazione o di un adattamento alle reti R-2R, ma di avere il minor rumore di conversione digitale e il suono è sicuramente migliore. . Link al commento https://melius.club/topic/17824-denafrips-ares-12th-1-r2r-anniversary-edition-meritatamente-best-in-show/page/3/#findComment-1074425 Condividi su altri siti Altre opzioni di condivisione...
stefano_mbp Inviato 15 Gennaio 2024 Condividi Inviato 15 Gennaio 2024 @Ultima Legione @ grazie per il chiarimento che però mi delude parecchio, quindi l’Ares si comporta esattamente come i dac Chord … Link al commento https://melius.club/topic/17824-denafrips-ares-12th-1-r2r-anniversary-edition-meritatamente-best-in-show/page/3/#findComment-1074445 Condividi su altri siti Altre opzioni di condivisione...
Ultima Legione @ Inviato 15 Gennaio 2024 Autore Condividi Inviato 15 Gennaio 2024 @stefano_mbp . Io però alla .......resa dei conti posso solo aggiungere che avendo una nutrita discoteca e brani in formato DSD, anche in confronto diretto e serrato con il campionissimo ed eccellente GUSTARD X26 Pro e al fratello in tecnologia R2R R26, una tra le cose che personalmente mi ha portato a preferire l'ARES 12TH-1 è stata proprio la "resa" e il pizzico di ... "magia" in più dei brani in DSD. . Questo al di là di ogni legittima e plausibile discriminante e convinzione tecnica con il quale ognuno sceglie e valuta gli oggetti audio, premettendo che anche io, su alcune mie radicate convinzioni tecniche frutto di quasi 50 anni di valutazioni, ascolti, confronti ed esperienze anche di progettazione e costruzione audio (Basso o Zero NTB, Zero OpAmp, Stadi analogici di uscita a discreti e valvolari, etc etc) sono ormai un vero telebano. . Ma fortunatamente sono anche capace di redimermi con sincero entusiasmo quando (pur accadendomi ormai rarissimamente) l'orecchio mi dice e sussurra cose diverse da quelle che mi aspettavo. . Link al commento https://melius.club/topic/17824-denafrips-ares-12th-1-r2r-anniversary-edition-meritatamente-best-in-show/page/3/#findComment-1074462 Condividi su altri siti Altre opzioni di condivisione...
Antonino Inviato 15 Gennaio 2024 Condividi Inviato 15 Gennaio 2024 24 minuti fa, Ultima Legione @ ha scritto: serrato con il campionissimo ed eccellente GUSTARD X26 Pro e al fratello in tecnologia R2R R26, una tra le cose che personalmente mi ha portato a preferire l'ARES 12TH-1 è stata proprio la "resa" e il pizzico di ... "magia" in più dei brani in DSD. Ciao avendo ora il gustard x26pro e avendo avuto in precedenza il dac AresII quest’ultimo pur essendo molto musicale, aveva in definizione molto inferiore, come se si perdesse qualcosa per strada. Il gustard x26 pro in una catena digitale messa a punto bene e’ spettacolare come scena, dettaglio ma anche dinamica, musicalità. Questo nuovo dac Ares 12th è molto migliore rispetto alla vecchia versione quindi? Link al commento https://melius.club/topic/17824-denafrips-ares-12th-1-r2r-anniversary-edition-meritatamente-best-in-show/page/3/#findComment-1074493 Condividi su altri siti Altre opzioni di condivisione...
Messaggi raccomandati
Crea un account o accedi per lasciare un commento
Devi essere un membro per lasciare un commento
Crea un account
Iscriviti per un nuovo account nella nostra community. È facile!
Registra un nuovo accountAccedi
Sei già registrato? Accedi qui.
Accedi Ora