redpepper Inviato 2 Giugno 2024 Condividi Inviato 2 Giugno 2024 Il 25/3/2023 at 10:45, alexis ha scritto: @redpepper stranone tanto, ma, pare efficace.. e nemmeno caro. https://www.tnt-audio.com/sorgenti/supatrac_blackbird_e.html a volte bisogna pure abbandonare le vie battute per trovare nuovi sentieri. Quando hai aperto la discussione al secondo post ti chiedevo di questo braccio. Comunque non è più il braccio migliore di Supatrac ora c'è il Nighthawk. Il Blackbird era studiato per poter lavorare con il coperchio chiuso su Rega e Linn nel video che segue il progettista ne illustra le migliorie e i vantaggi. 1 Link al commento https://melius.club/topic/13709-bracci-del-terzo-millennio/page/28/#findComment-1215329 Condividi su altri siti Altre opzioni di condivisione...
alexis Inviato 2 Giugno 2024 Autore Condividi Inviato 2 Giugno 2024 @redpepper certo il nighthawk sarà pure leggermente più meglio :-) ma al doppio dei soldini, e il principio é lo stesso. 12k verso 5… vedremo, magari riesco a provarli entrambi. il concetto di base é una vera furbata, comunque… Link al commento https://melius.club/topic/13709-bracci-del-terzo-millennio/page/28/#findComment-1215405 Condividi su altri siti Altre opzioni di condivisione...
alexis Inviato 2 Giugno 2024 Autore Condividi Inviato 2 Giugno 2024 @antonio 64 la pubblicità migliore é stato il video comparativo messo in rete da fremer, supatac vs. sat, e una buona parte del pubblico, in cieco, ha scelto il primo, e il secondo costava oltre 10 volte tanto. 1 Link al commento https://melius.club/topic/13709-bracci-del-terzo-millennio/page/28/#findComment-1215408 Condividi su altri siti Altre opzioni di condivisione...
redpepper Inviato 2 Giugno 2024 Condividi Inviato 2 Giugno 2024 3 ore fa, alexis ha scritto: 12k verso 5… vedremo, magari riesco a provarli entrambi. il concetto di base é una vera furbata, comunque… Non sapevo del costo del nighthawk pensavo qualcosa in più ma non oltre il doppio. Poi un anno fa il Blackbird, come già detto costava 1500 sterline e ricordo che il produttore ne aveva alcuni con lievi difetti estetici e li vendeva a 1200 sterline. 3 ore fa, alexis ha scritto: @antonio 64 la pubblicità migliore é stato il video comparativo messo in rete da fremer, supatac vs. sat, e una buona parte del pubblico, in cieco, ha scelto il primo, e il secondo costava oltre 10 volte tanto. Fremer fa parecchi danni agli acquirenti, se ogni cosa che recensisce positivamente poi aumenta esageratamente di prezzo. Su AVS un forumer un paio d'anni fa fece un confronto alla cieca tra un Techdas e un AR XA all'ascolto vinse, tra i forumer , il secondo. Lo avesse dichiarato Fremer ora per un XA usato ci vorrebbero almeno 2000 Euro 1 Link al commento https://melius.club/topic/13709-bracci-del-terzo-millennio/page/28/#findComment-1215588 Condividi su altri siti Altre opzioni di condivisione...
alexis Inviato 2 Giugno 2024 Autore Condividi Inviato 2 Giugno 2024 @redpepper immagino la faccia di chi abbia preferito il gira da cassonetto..😀😀😀 il Supatrac comunque é la dimostrazione plastica che anche nel settore dei bracci vi é ampio spazio di innovazione e sperimentazione. come nel caso del Viv ( per me il miglior braccio mai provato) il Supatrac è un vero gamechanger.. sono curioso di provare con mano la qualità e stabilità del basso, raccontata come favolosa in tutti i test. vedremo. Link al commento https://melius.club/topic/13709-bracci-del-terzo-millennio/page/28/#findComment-1215657 Condividi su altri siti Altre opzioni di condivisione...
blucatenaria Inviato 3 Giugno 2024 Condividi Inviato 3 Giugno 2024 Alla vostra età state ancora appresso ai venditori di fuffa Link al commento https://melius.club/topic/13709-bracci-del-terzo-millennio/page/28/#findComment-1215748 Condividi su altri siti Altre opzioni di condivisione...
alexis Inviato 3 Giugno 2024 Autore Condividi Inviato 3 Giugno 2024 @blucatenaria cioè? Link al commento https://melius.club/topic/13709-bracci-del-terzo-millennio/page/28/#findComment-1215772 Condividi su altri siti Altre opzioni di condivisione...
Membro_0027 Inviato 3 Giugno 2024 Condividi Inviato 3 Giugno 2024 1 ora fa, alexis ha scritto: cioè? Cioè sei fesso se non ti compri il gira Ar e le casse Ar rotte. O almeno, in subordine, un dacchetto di aliexpress da 50 euro. Ti ho rivelato una verità per te inimmaginabile. Sei contento? Link al commento https://melius.club/topic/13709-bracci-del-terzo-millennio/page/28/#findComment-1215821 Condividi su altri siti Altre opzioni di condivisione...
alexis Inviato 3 Giugno 2024 Autore Condividi Inviato 3 Giugno 2024 @pifti molto... Link al commento https://melius.club/topic/13709-bracci-del-terzo-millennio/page/28/#findComment-1216020 Condividi su altri siti Altre opzioni di condivisione...
PMV Inviato 18 Giugno 2024 Condividi Inviato 18 Giugno 2024 La geometria del braccio Viv è veramente curiosa. Dato che utilizzo un braccio autocostruito completamente svincolato dal piatto ho pensato di provarla. Il braccio è tipo Well Tempered con palla da golf ed è posto su un supporto di ardesia di circa 2 kg. La lunghezza del braccio è 16". Devo dire che i risultati sono sorprendenti. In primo luogo la puntina percorre tutti dischi senza che si verifichi nulla di disastroso. Ancora più sorprendente il suono sembra migliorare un po' su tutti i parametri. 2 Link al commento https://melius.club/topic/13709-bracci-del-terzo-millennio/page/28/#findComment-1227513 Condividi su altri siti Altre opzioni di condivisione...
alexis Inviato 19 Giugno 2024 Autore Condividi Inviato 19 Giugno 2024 @PMV praticamente lo fai lavorare in underhang con un solo punto di tangenze a centro disco circa, giusto? E con la testina dritta in asse con la canna? Beh considerata la lunghezza della canna e il conseguente raggio ampio non sei lontanissimo da un tangenziale. il tedesco Fuchs fa bracci anche da 28“… con lo stesso ragionamento.. Ma indipendentemente dalla lunghezza della canna il segreto sta nella parolina underhang, perché in tan modo non si genera forza di skating, e questo è un concetto di geometria piana che non tutti hanno assimilato a quanto pare.. :-) Link al commento https://melius.club/topic/13709-bracci-del-terzo-millennio/page/28/#findComment-1228177 Condividi su altri siti Altre opzioni di condivisione...
blucatenaria Inviato 19 Giugno 2024 Condividi Inviato 19 Giugno 2024 3 ore fa, alexis ha scritto: il tedesco Fuchs fa bracci anche da 28“… immagino il momento d'inerzia di una canna da 28" imperniata ad un estremo. Come portarsi in giro un macigno sulle spalle e dover seguire repentini e continui cambi di traiettoria. Una libidine per la testina Link al commento https://melius.club/topic/13709-bracci-del-terzo-millennio/page/28/#findComment-1228314 Condividi su altri siti Altre opzioni di condivisione...
PMV Inviato 19 Giugno 2024 Condividi Inviato 19 Giugno 2024 @ Alexis Sì il braccio è regolato così, con il punto di tangenza a circa 9 cm dal centro e l'underhang è circa 7 mm. Con la regolazione precedente l'overhang era ridotto a 6 mm e comunque senza antiskating. Una cosa mi lascia perplesso: mettendo la puntina sulla traccia liscia del disco test di hi-fi news tende a spostarsi verso l'esterno, è normale? Comunque proseguendo con gli ascolti la sensazione di miglioramento rimane. Link al commento https://melius.club/topic/13709-bracci-del-terzo-millennio/page/28/#findComment-1228524 Condividi su altri siti Altre opzioni di condivisione...
Lestratto Inviato 19 Giugno 2024 Condividi Inviato 19 Giugno 2024 5 ore fa, PMV ha scritto: mettendo la puntina sulla traccia liscia del disco test di hi-fi news tende a spostarsi verso l'esterno, è normale? Nelle stesse condizioni, il Viv tende leggermente all'esterno fino a metà disco per poi invertire (tira verso il centro da metà disco alla fine). Il tutto in modo molto meno marcato rispetto ad un braccio normale. 1 Link al commento https://melius.club/topic/13709-bracci-del-terzo-millennio/page/28/#findComment-1228791 Condividi su altri siti Altre opzioni di condivisione...
alexis Inviato 19 Giugno 2024 Autore Condividi Inviato 19 Giugno 2024 Corretto. Perfettamente aderente alla dottrina geometrica. Link al commento https://melius.club/topic/13709-bracci-del-terzo-millennio/page/28/#findComment-1228808 Condividi su altri siti Altre opzioni di condivisione...
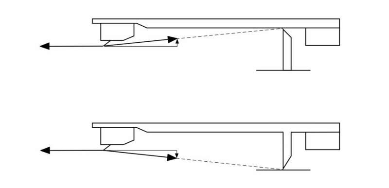
alexis Inviato 20 Giugno 2024 Autore Condividi Inviato 20 Giugno 2024 OT: Recap 1 for @walge: Perché l’articolazione più bassa rispetto al solito posizionamento in asse canna é più meglio ? Semplice.. qualcuno mi ha fatto un disegnino semplice semplice, ma in sostanza é il famoso parallelogramma della scomposizione delle forze che agiscono in base al drag generato dalla trazione del diamante nel solco. Quella freccettina verticale piccola é la risultante della scomposizione tra forza orizzontale e il drag, in sostanza si chiama “momento”.. nei tratti più concitati dei dischi pensa ai tamburi dei death can dance per esempio, i solchi più modulati producono un drag maggiore e quindi una forza verticale risultante superiore, nel caso di un articolazione più bassa, questa è di segno negativo, altrimenti la testina per brevissimi istanti tira in su. questo principio è adottato su molti bracci furbi, alcuni storici come il triplanar altri nuovissimi come il Viv e il Supatrac.. da cui ho tratto l’immagine. Spero di essere stato chiaro. 1 Link al commento https://melius.club/topic/13709-bracci-del-terzo-millennio/page/28/#findComment-1228901 Condividi su altri siti Altre opzioni di condivisione...
walge Inviato 20 Giugno 2024 Condividi Inviato 20 Giugno 2024 1 ora fa, alexis ha scritto: Spero di essere stato chiaro. Purtroppo no Non ho le competenze per entrare nei dettagli di geometrie e forze però qualcosa vorrei dire Facciamo un esempio Ricordiamoci che un fonorivelatore è un trasduttore di velocità e non di posizione Una testina con tensione di riferimento 1 mV a 1 khz Installato correttamente come peso, dima etc se un tamburo ( tanto per dire) ha una frequenza di 100 hz esso è registrato a - 12 dB quindi inciso ad un livello 4 volte più basso rispetto al riferimento il cantilever sarà chiamato ad un lavoro meno difficile supponiamo che ci sia un segnale a 8 khz, esso è inciso ad un livello di + 12 db e quindi il cantilever dovrà lavorare più pesantemente rispetto alla precedente condizione l’esempio è un po’ estremo ma di base così funziona poi c’è la deenfasi elettrica ma questa è un altra storia Dal punto di vista pratico il sistema testina + braccio + base dovrebbe essere a rigidità infinita in banda audio cosicché il cantilever ed il damper possono seguire l’andamento del segnale inciso senza poterlo modificare e quindi la testina non può “tirare in su” e nemmeno precipitare in basso Non ho dubbi che quel sistema possa funzionare come funziona l’articolazione standard quando ben fatta a presto W Link al commento https://melius.club/topic/13709-bracci-del-terzo-millennio/page/28/#findComment-1228981 Condividi su altri siti Altre opzioni di condivisione...
walge Inviato 20 Giugno 2024 Condividi Inviato 20 Giugno 2024 Dimenticavo con i dischi mono con modulazione laterale? Ricordiamoci poi che le registrazioni stereo hanno i solchi registrati a 45 gradi rispetto all’ asse verticale W Link al commento https://melius.club/topic/13709-bracci-del-terzo-millennio/page/28/#findComment-1229005 Condividi su altri siti Altre opzioni di condivisione...
Messaggi raccomandati