Andrea Mori Inviato 27 Febbraio 2024 Autore Condividi Inviato 27 Febbraio 2024 19 minuti fa, mariovalvola ha scritto: @Andrea Mori scusa la domanda da profano. Ti risulta che il citato TDA1541 non sia per tutti un R2R? https://audiophilestyle.com/forums/topic/57955-multi-bit-but-not-r2r/ Si, viene normalmente assimilato alla tecnologia R2R, ma in realtà il TDA1541A impiega una tecnica di conversione diversa, detta appunto DEM (Dynamic Element Matching), soluzione veramente geniale utilizzata dagli ingegneri della Philips. Tuttavia questa particolare tecnica di conversione è molto complessa, tanto che oggi è ancora in discussione. Per chi è interessato, qui può trovare la spiegazione del funzionamento TDA1541A DEM. 1 Link al commento https://melius.club/topic/18761-anatomia-di-un-dac-anzi-di-molti-dac/page/23/#findComment-1124499 Condividi su altri siti Altre opzioni di condivisione...
domenico80 Inviato 27 Febbraio 2024 Condividi Inviato 27 Febbraio 2024 8 minuti fa, Turandot ha scritto: Boh non sono un tecnico, sonare sona assai però ci mancherebbe , non discuto , né volevo criticare . Mi ricorda un DAC Spectral , con gli ultra Analog , di anni addietro , DAC con il quale in dimostrazione fecero diversi confronti Se è quello cui mi riferisco , ricordo che Spectral implementò una circuitazione complicatissima per il clock Al tempo l'Ultra Analog aveva una gran fama , ma su diverse costruzioni lasciava perplessi Link al commento https://melius.club/topic/18761-anatomia-di-un-dac-anzi-di-molti-dac/page/23/#findComment-1124503 Condividi su altri siti Altre opzioni di condivisione...
walge Inviato 27 Febbraio 2024 Condividi Inviato 27 Febbraio 2024 @Andrea Mori Ultra Analog era un dac che molti anni fa era impiegato su cd di alto livello come Sonic Frontiers. Non esiste, per quanto ne so io, una documentazione esplicativa. Qualcuno affermo che, essendo blindati, all'interno ci fosse un dac prodotto da altri e inglobato in quel contenitore Il marchio sparì parecchi anni fa Mistero W Link al commento https://melius.club/topic/18761-anatomia-di-un-dac-anzi-di-molti-dac/page/23/#findComment-1124505 Condividi su altri siti Altre opzioni di condivisione...
domenico80 Inviato 27 Febbraio 2024 Condividi Inviato 27 Febbraio 2024 8 minuti fa, captainsensible ha scritto: a me sembra tecnologia anni '80. questo intendevo Link al commento https://melius.club/topic/18761-anatomia-di-un-dac-anzi-di-molti-dac/page/23/#findComment-1124510 Condividi su altri siti Altre opzioni di condivisione...
Oedema Inviato 27 Febbraio 2024 Condividi Inviato 27 Febbraio 2024 29 minuti fa, Andrea Mori ha scritto: TDA1541A impiega una tecnica di conversione diversa, detta appunto DEM (Dynamic Element Matching) Anche il TDA1545A sfrutta la medesima tecnica di conversione? Inoltre, come già chiesto, vorrei che mi illustrassi meglio, se la conosci, l'architettura del mio DAC: il Paradisea della MHDT LABS che monta, per l'appunto, quel chip di conversione. Grazie, ti seguo con estremo interesse e rispetto. Link al commento https://melius.club/topic/18761-anatomia-di-un-dac-anzi-di-molti-dac/page/23/#findComment-1124534 Condividi su altri siti Altre opzioni di condivisione...
AudioLover Inviato 27 Febbraio 2024 Condividi Inviato 27 Febbraio 2024 @Andrea Mori una domanda veloce, tra Holo May e Spring 3 KTE tecnicamente le differenze sono considerevoli? Link al commento https://melius.club/topic/18761-anatomia-di-un-dac-anzi-di-molti-dac/page/23/#findComment-1124578 Condividi su altri siti Altre opzioni di condivisione...
giaietto Inviato 27 Febbraio 2024 Condividi Inviato 27 Febbraio 2024 @Andrea Mori Ciao. Hai mai avuto modo di “ispezionare” un Nagra o un AMR? Link al commento https://melius.club/topic/18761-anatomia-di-un-dac-anzi-di-molti-dac/page/23/#findComment-1124591 Condividi su altri siti Altre opzioni di condivisione...
fmr59 Inviato 27 Febbraio 2024 Condividi Inviato 27 Febbraio 2024 1 minuto fa, giaietto ha scritto: @Andrea Mori Ciao. Hai mai avuto modo di “ispezionare” un Nagra o un AMR? Il Nagra è un po’ vuotino … si fa presto ad ispezionare 😂 Link al commento https://melius.club/topic/18761-anatomia-di-un-dac-anzi-di-molti-dac/page/23/#findComment-1124593 Condividi su altri siti Altre opzioni di condivisione...
domenico80 Inviato 27 Febbraio 2024 Condividi Inviato 27 Febbraio 2024 9 minuti fa, fmr59 ha scritto: Il Nagra è un po’ vuotino … si fa presto ad ispezionare .. allora significa che costa ,,,,,,,,,, poco Link al commento https://melius.club/topic/18761-anatomia-di-un-dac-anzi-di-molti-dac/page/23/#findComment-1124597 Condividi su altri siti Altre opzioni di condivisione...
audio2 Inviato 27 Febbraio 2024 Condividi Inviato 27 Febbraio 2024 anche certi naim erano vuotini però suonavano bene però non costavano poco troppi però Link al commento https://melius.club/topic/18761-anatomia-di-un-dac-anzi-di-molti-dac/page/23/#findComment-1124599 Condividi su altri siti Altre opzioni di condivisione...
giaietto Inviato 27 Febbraio 2024 Condividi Inviato 27 Febbraio 2024 Alimentazione esterna Link al commento https://melius.club/topic/18761-anatomia-di-un-dac-anzi-di-molti-dac/page/23/#findComment-1124605 Condividi su altri siti Altre opzioni di condivisione...
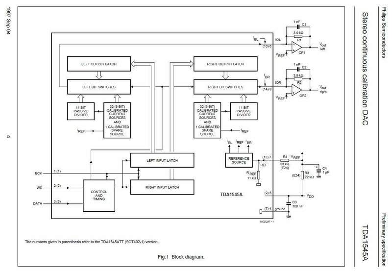
Andrea Mori Inviato 27 Febbraio 2024 Autore Condividi Inviato 27 Febbraio 2024 1 ora fa, Oedema ha scritto: Anche il TDA1545A sfrutta la medesima tecnica di conversione? Inoltre, come già chiesto, vorrei che mi illustrassi meglio, se la conosci, l'architettura del mio DAC: il Paradisea della MHDT LABS che monta, per l'appunto, quel chip di conversione. Grazie, ti seguo con estremo interesse e rispetto. Il TDA1545A usa una tecnologia un po' diversa dal TDA1541A, infatti all'epoca era considerato la versione economica del TDA1541A. Invece del DEM usa 32 generatori di correnti costanti calibrate (5 bit) e 11 divisori passivi, per raggiungere la risoluzione di 16 bit. Del tuo DAC non trovo molto in rete, salvo che è un DAC NOS (senza sovra-campionamento). Link al commento https://melius.club/topic/18761-anatomia-di-un-dac-anzi-di-molti-dac/page/23/#findComment-1124611 Condividi su altri siti Altre opzioni di condivisione...
Andrea Mori Inviato 27 Febbraio 2024 Autore Condividi Inviato 27 Febbraio 2024 48 minuti fa, Ricky81 ha scritto: @Andrea Mori una domanda veloce, tra Holo May e Spring 3 KTE tecnicamente le differenze sono considerevoli? Entrambi sono basati più o meno sulla sessa tecnologia, lo Spring 3 era la versione precedente al May, e di preciso non so quali siano le differenze. Tuttavia, dalle misure su ASR anche lo Spring 3 aveva prestazioni eccellenti ASR Holo Spring 3. Link al commento https://melius.club/topic/18761-anatomia-di-un-dac-anzi-di-molti-dac/page/23/#findComment-1124613 Condividi su altri siti Altre opzioni di condivisione...
domenico80 Inviato 27 Febbraio 2024 Condividi Inviato 27 Febbraio 2024 13 minuti fa, giaietto ha scritto: Alimentazione esterna e che ci devono alimentare ! Link al commento https://melius.club/topic/18761-anatomia-di-un-dac-anzi-di-molti-dac/page/23/#findComment-1124614 Condividi su altri siti Altre opzioni di condivisione...
Andrea Mori Inviato 27 Febbraio 2024 Autore Condividi Inviato 27 Febbraio 2024 31 minuti fa, giaietto ha scritto: @Andrea Mori Ciao. Hai mai avuto modo di “ispezionare” un Nagra o un AMR? Non conosco il NAGRA, ma conosco l'AMR CD 77 perché conosco il progettista Thorsten Loesch, con il quale ho avuto modo di scambiare opinioni su diyaudio.com e su diyhifi.org. All'epoca era considerato una delle migliori implementazioni del TDA1541A insieme allo Zanden 5000. Può lavorare sia in NOS che in OS (2X e 4X) ed implementa uno stadio di uscita a tubi. 2 Link al commento https://melius.club/topic/18761-anatomia-di-un-dac-anzi-di-molti-dac/page/23/#findComment-1124617 Condividi su altri siti Altre opzioni di condivisione...
fmr59 Inviato 27 Febbraio 2024 Condividi Inviato 27 Febbraio 2024 38 minuti fa, giaietto ha scritto: Alimentazione esterna Ahhh beh allora si spiega tutto Link al commento https://melius.club/topic/18761-anatomia-di-un-dac-anzi-di-molti-dac/page/23/#findComment-1124630 Condividi su altri siti Altre opzioni di condivisione...
Andrea Mori Inviato 27 Febbraio 2024 Autore Condividi Inviato 27 Febbraio 2024 Tornando in argomento, un'altra criticità che affligge la conversione digitale analogica, soprattutto quella basata su reti resistive R2R, è il glitch generato dagli interruttori del DAC quando questi cambiano stato. La conversione, dal punto di vista elettronico, è implementata per mezzo di porte logiche, tipicamente flip-flop, e queste conoscono soltanto due stati logici, acceso o spento, 0 oppure 1, Vref o massa. Questo significa che nel momento in cui cambiano stato generano un'onda quadra a tutti gli effetti. Dal punto di vista elettronico, un'onda quadra è composta da una sinusoide alla frequenza appunto dell'onda quadra e da un numero virtualmente infinito di armoniche dispari (immagine esemplificativa allegata). Il risultato è che, nel momento in cui avviene la transizione, il fronte generato (per passare ad esempio da 0V a Vref) è ripidissimo, con tempi nell'ordine di pochissimi nanosecondi. Ad esempio i flip-flop della serie NC7SZ di On Semiconductor hanno un tempo di propagazione (tpLH e tpHL, transizione da basso a alto e da alto a basso) di 2.8ns se alimentati a 3,3 Volt e di 2,2ns quando alimentati a 5 Volt. Come si evince dalla seconda immagine, queste transizioni ripidissime producono degli impulsi, sia nella parte alta che nella parte bassa (ground bounce), che alterano l'onda quadra generata. Questo, inevitabilmente, si traduce in un errore di non linearità, dal momento che l'ampiezza del segnale non è perfetta, bensì viene modulata da questi impulsi. Nel prossimo commento descriverò il motivo per cui i DAC basati su reti R2R ne soffrono particolarmente. Link al commento https://melius.club/topic/18761-anatomia-di-un-dac-anzi-di-molti-dac/page/23/#findComment-1124632 Condividi su altri siti Altre opzioni di condivisione...
serbel Inviato 27 Febbraio 2024 Condividi Inviato 27 Febbraio 2024 La differenza principale che il may ha alimentazione esterna mentre lo spring è un unico pezzo , poi ci sono le varie release in entrambi i modelli dove montano componenti più performanti , alimentatori ecc , infine anche l importatore olandese offriva modifiche al clock e cavi , questo a memoria quando valutavo holo un paio di anni fa Link al commento https://melius.club/topic/18761-anatomia-di-un-dac-anzi-di-molti-dac/page/23/#findComment-1124888 Condividi su altri siti Altre opzioni di condivisione...
Messaggi raccomandati
Crea un account o accedi per lasciare un commento
Devi essere un membro per lasciare un commento
Crea un account
Iscriviti per un nuovo account nella nostra community. È facile!
Registra un nuovo accountAccedi
Sei già registrato? Accedi qui.
Accedi Ora