Stel1963 Inviato 14 Maggio 2021 Condividi Inviato 14 Maggio 2021 Ciao a tutti. Sono in possesso di un pre artigianale con qualche “perplessità “. Costruito con ottimo materiale ma con tanti “accrocchi” che sto risolvendo un po alla volta man mano che riaccumulo esperirnza nel fai da te (diy i love it ❤️❤️❤️). Nell’hifi per ottenere risultati sonori e affidabilità l’ordine, la pulizia e la precisione sono fondamnetali, e l’ho ri-scoperto con i 6 montaggi e rimontaggi dell’EAR834 diy. Inoltre mi stanno tornando alla mente immagini, modalità, schemi di 30 anni fa, quando io e io saldatore eravamo un tutt’uno. Oraperò ho delle perplessità sul circuito originale. Eccolo. . Condensatori interstadio tra le 76 e la 6sn7 si o no (non sono segnati)? Le 76 escono 20 db troppo alte. Ho messo un partitore resistivo in uscita con una resistenza dq 1800k. Ma mi sembra assurdo, meglio sarebbe attenuare subito le 76 PRIMA che entrino nella 6SN7. O farle guadagnare di meno c’è una girante a fet all’uscitabdella 320 che la trasforma in DC 250v e poi la manda alla raddrizzatrice. Se tolgo la girante a fet dal 250v e vado direttamente alla valvola raddrizzatrice aggiungendo lenresistenze indicate, che ora non raddrizza nulla, è corretto? Il collegamento che dall’uscita del filtraggio della 250 va all’uscita del 6,3v dei filamenti per alzarla di 100v posso portarlo invece subito dopo la raddrizzatrice 250v e il ponte di diodi della 6,3v in modo da non riimmettere ripple dalla 6,3 alla 250 dopo averla strafiltrata con 4 condensatori e 2 induttanze? Vedete altri errori o suggerimenti? Grazie a chiunque diandeinsuggerimenti per fare suonare le mie meravigliose fivre del ‘34 come davvero devono. Link al commento https://melius.club/topic/1981-pre-a-valvole-autocostruito-con-le-76-magagne-e-errori/ Condividi su altri siti Altre opzioni di condivisione...
Tronio Inviato 14 Maggio 2021 Condividi Inviato 14 Maggio 2021 Questo è un lavoro per @walge... 😎 Link al commento https://melius.club/topic/1981-pre-a-valvole-autocostruito-con-le-76-magagne-e-errori/#findComment-82080 Condividi su altri siti Altre opzioni di condivisione...
Stel1963 Inviato 14 Maggio 2021 Autore Condividi Inviato 14 Maggio 2021 Ps (aiuto @mariovalvola help @walge) alcune cose non sono indicate sullonschema. Inoltre il condensatore di uscita indicato a .33uf, messo da 1uf taglia 6 db dai 300 hz in giù. Messo da 4 uf sembra accettabile. Tra la 6Sn7 e il condensatore di uscita c’è il potenziometro. Da 50k. Magari è quello che altera il valore del condensatore a monte? Link al commento https://melius.club/topic/1981-pre-a-valvole-autocostruito-con-le-76-magagne-e-errori/#findComment-82082 Condividi su altri siti Altre opzioni di condivisione...
Stel1963 Inviato 14 Maggio 2021 Autore Condividi Inviato 14 Maggio 2021 4 minuti fa, Tronio ha scritto: Questo è un lavoro per @walge... 😎 Yes… lui è…. Il Tom Cuise “mission impossible” delle valvole E meno male che lo abbiamo nel forum! Link al commento https://melius.club/topic/1981-pre-a-valvole-autocostruito-con-le-76-magagne-e-errori/#findComment-82088 Condividi su altri siti Altre opzioni di condivisione...
Ashareth Inviato 14 Maggio 2021 Condividi Inviato 14 Maggio 2021 @Stel1963 Sto guardando lo schema e ho perplessita' su quello che dici. 1. la 76 ha un mu di 13.8, in un circuito cosi', ad occhio e croce direi che hai un guadagno totale di 21dB.... avere 20dB di troppo significa che non hai assolutamente bisogno di un pre. Non e' che hai collegato l'uscita della 6SN7 all'anodo anziche' al catodo? 2. no, il condensatore tra 76 e 6SN7 non ci va. 3. dove vedi nello schema la "girante a fet"? 4. l'alimentazione a 6.3 e' riferita a una tensione intermedia tramite un partitore resistivo, non porta ripple nel filamento. E' necessaria perche' senno' la valvola si rovina se superi la max tensione catodo filamento (nel caso del cathode follower) Ciao, Enrico 1 Link al commento https://melius.club/topic/1981-pre-a-valvole-autocostruito-con-le-76-magagne-e-errori/#findComment-82143 Condividi su altri siti Altre opzioni di condivisione...
Stel1963 Inviato 14 Maggio 2021 Autore Condividi Inviato 14 Maggio 2021 1 ora fa, Ashareth ha scritto: 1. la 76 ha un mu di 13.8, in un circuito cosi', ad occhio e croce direi che hai un guadagno totale di 21dB.... avere 20dB di troppo significa che non hai assolutamente bisogno di un pre. Non e' che hai collegato l'uscita della 6SN7 all'anodo anziche' al catodo? Ciao Enrico. Anzitutto Grazie! Dunque, andiamo in ordine. Anodo... non credo ma.....Controllo!!! Si comunque ho delle uscite molto alte e dei finali molto sensibili. Ma ho provato i pre passivi, e non mi hanno convinto. In pratica in un pre mi serve guadagno zero, se no devo usare il potenziometro tra il muto e la prima tacca.... Il problema è ce essendo i finali molto sensibili, oltre al volume a zero per pilotarli, qualunque microfonicità o rumore delle valvole diventa una cosa enorme. Su altri finali più duri, non vi è problema. Sui miei monoblock di 300b (TPaudio) si. Per quello volevo trovar eun modo per abbassare il guadagno della valvola senza unpartitore di uscita che mi porti a zero il guadagno. 1 ora fa, Ashareth ha scritto: 2. no, il condensatore tra 76 e 6SN7 non ci va. Grazie! 1 ora fa, Ashareth ha scritto: 3. dove vedi nello schema la "girante a fet"? non è nello schema ma nell'apparecchio. e mancano le due resistenze. Lo porto tranquillamente come da schema allora. 1 ora fa, Ashareth ha scritto: 4. l'alimentazione a 6.3 e' riferita a una tensione intermedia tramite un partitore resistivo, non porta ripple nel filamento. E' necessaria perche' senno' la valvola si rovina se superi la max tensione catodo filamento (nel caso del cathode follower) Si quello è evidente. Non è una ecc83! Il mio problema è che la tensione per alzare l'alimentazione dei filamenti viene presa alla fine di tutti i filtraggi, tanti e diciamo ben fatti. MA è collegata ad una 6,3 che di filtraggio ha ben poco e che presenta parecchio ripple. E tenendolo attaccato così ho un certo ronzio (non forte, ma...)a 50hz che presumo proveng da li. Staccandola il ronzio cala di brutto. Proprio a causa del ronzio devo attenuare di 20 db. Se no è 20 db sopra. Quindi ottengo un pre che ronza molto e guadagna molto. Peraltro ragionando il ronzio è indipendente dalla posizione del volume...... ma si abbassa di brutto aumentando l'attenuazione con il partitore resistivo.devo controllare i loop di massa forse Stasera faccio delle foto. Link al commento https://melius.club/topic/1981-pre-a-valvole-autocostruito-con-le-76-magagne-e-errori/#findComment-82214 Condividi su altri siti Altre opzioni di condivisione...
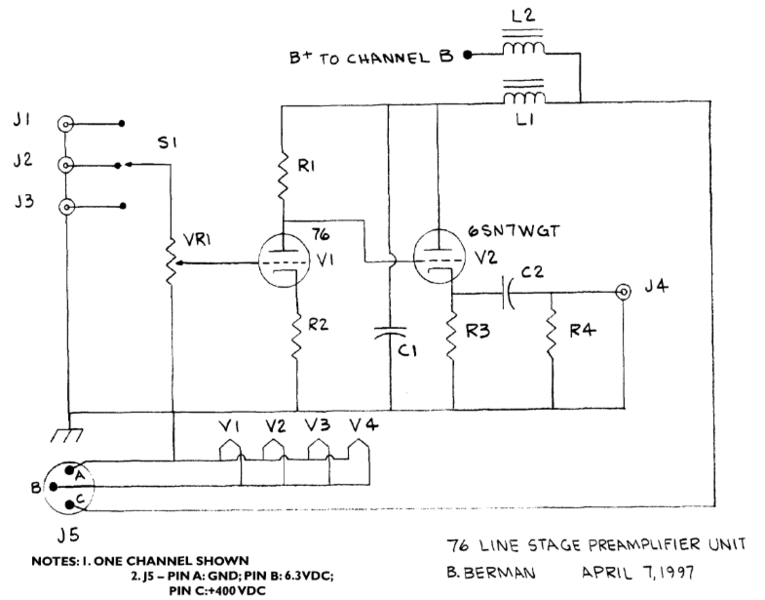
Ashareth Inviato 14 Maggio 2021 Condividi Inviato 14 Maggio 2021 @Stel1963 Se hai problemi di eccessivo guadagno del finale in effetti ti serve un pre super silenzioso. Nello schema che hai girato il potenziometro e' un trasfo TVC ed e' in ingresso, non in uscita come sembri avere tu. In genere il pot in uscita non e' una soluzione che mi piaccia molto ma in effetti attenua tutto quello che c'e' a monte. Solo che in genere l'ho sempre visto usare a valle del condensatore di accoppiamento (il che potrebbe fare al caso tuo, per inciso) Mi pare strano pero' che tu con 1uF abbia attenuazione da 300Hz in giu'..... a meno che ovviamente l'impedenza di ingresso dei tuoi finali non sia in effetti molto bassa, ma per avere il 300Hz a -3dB significa che i finali devono avere 3k in ingresso il che mi pare impossibile. Mio suggerimento spassionato: cerca di modificare il pre e riportarlo alle condizioni dello schema originale, che per inciso mi sembra piuttosto simile a questo: Un'altra cosa che non capisco molto e' la resistenza in serie al filamento della raddrizzatrice: e' una 6x5 va con il filamento a 6.3V, non ci dovrebbe essere una resistenza li'. Ora, la massima tensione catodo filamento per la 6SN7 e' 200V quindi in teoria forse non serve nemmeno alzare il riferimento a massa, ma il ronzio mi pare comunque piuttosto strano, sono tubi a riscaldamento indiretto e sono pure raddrizzati.... Ciao, Enrico 1 Link al commento https://melius.club/topic/1981-pre-a-valvole-autocostruito-con-le-76-magagne-e-errori/#findComment-82257 Condividi su altri siti Altre opzioni di condivisione...
Moderatori joe845 Inviato 14 Maggio 2021 Moderatori Condividi Inviato 14 Maggio 2021 Condivido quello che dice Enrico, il circuito mi sembra corretto. il TI in ingresso è il controllo di volume? per il condensatore in uscita dipende da cosa ci colleghi, fino a una 50ina di K non ci dovrebbero essere problemi, certo se hai un finale da 10K di impedenza d'ingresso potrebbe tagliare un pò troppo, ma non certo da 300Hz.. G Link al commento https://melius.club/topic/1981-pre-a-valvole-autocostruito-con-le-76-magagne-e-errori/#findComment-82341 Condividi su altri siti Altre opzioni di condivisione...
walge Inviato 14 Maggio 2021 Condividi Inviato 14 Maggio 2021 Intanto ringrazio per essere stato paragonato a Tom Cruise, anche se sono leggermente più carino! 🙂 Poi guardando lo schema delllo stadio attivo il tutto sembra corretto come impostazione dei punti di lavoro. Togliendo il cap in parallelo alla resistenza di catodo della 76 il guadagno diminuisce di circa 3 dB. Del resto avendo un pot con l'induttore Sowter ( ottimo) le posizioni sono pochine e il range di attenuazione non è elevato. La massima attenuazione è di 50 dB quando ne servirebbero almeno 10 in più, per gestire meglio il range di regolazione Il condensatore di uscita originale è troppo piccolo come valore, direi che un 2,2 uF andrebbe più che bene per la stragrande maggioranza dei finali a cui questo pre si collegherà. Ora resta da capire quale è il reale circuito di alimentazione sia della alta tensione che dei filamenti. @Stel1963 puoi disegnare il circuito reale? Per l'alta tensione il filtraggio è induttivo, in origine ( che personalmente odio, ma questo non c'entra niente) Con il disegno magari si può pensare a qualche intervento. Poi per il riferimento alta tensione va bene il partitore come disegnato e non dovrebbe comprtare nessun rumore aggiuntivo. Poi non capisco questo passo: ’è una girante a fet all’uscitabdella 320 che la trasforma in DC 250v e poi la manda alla raddrizzatrice Mi spieghi o mi disegni? Quando si usano i pot ad induttore come il Sowter c'è il rischio aggiuntivo di catturare rumore se il case non è ben ancorato alla massa. Tra l'altro non vedo una resistenza tra la grglia e la massa della valvola di ingresso ( sul secondario del pot), io metterei 100kohm Per la resistenza in serie al filamento della raddrizzatrice non capisco il perchè dato che la 6X5 assrobe 0,6 A di filamento che moltiplicato per 2,7 ohm fa 1,62 volt e quindi sarebbe sottoalimentata. Una ultima considerazione, vista l'età delle 76 ma hai controllato che, con il volume al massimo il guadagno sia uguale per i due canali? Magari anche la distorsione? Walter 1 Link al commento https://melius.club/topic/1981-pre-a-valvole-autocostruito-con-le-76-magagne-e-errori/#findComment-82343 Condividi su altri siti Altre opzioni di condivisione...
Stel1963 Inviato 14 Maggio 2021 Autore Condividi Inviato 14 Maggio 2021 23 minuti fa, walge ha scritto: puoi disegnare il circuito reale? Stanotte lo faccio. E faccio anche le foto! Intanto stragrazie! Link al commento https://melius.club/topic/1981-pre-a-valvole-autocostruito-con-le-76-magagne-e-errori/#findComment-82371 Condividi su altri siti Altre opzioni di condivisione...
Stel1963 Inviato 14 Maggio 2021 Autore Condividi Inviato 14 Maggio 2021 1 ora fa, Ashareth ha scritto: cerca di modificare il pre e riportarlo alle condizioni dello schema originale, che per inciso mi sembra piuttosto simile a questo: Sembra davvero lui.... costruito bene! Link al commento https://melius.club/topic/1981-pre-a-valvole-autocostruito-con-le-76-magagne-e-errori/#findComment-82380 Condividi su altri siti Altre opzioni di condivisione...
Ashareth Inviato 14 Maggio 2021 Condividi Inviato 14 Maggio 2021 22 minuti fa, Stel1963 ha scritto: Sembra davvero lui.... costruito bene! Se noti, non raddrizza i filamenti e il collegamento tra PSU e telaio di segnale e' con un cavo tripolare: B+, Filamenti, massa. Piu' semplice di cosi' si muore. Tornando alla riduzione del guadagno, come dice @walge levando il bypass catodico introduci un po' di feedback locale e riduci leggermente il guadagno. Puoi ridurlo ulteriormente (con il caveat che cosi' cambi punto di lavoro completamente, ergo devi ridimensionarti tutto lo stadio) riducendo la resistenza anodica. Onestamente io non lo cambierei e cercherei solamente di trovare le cause del rumore.... (ma metti che il bypass catodico si faccia anche molto in fretta a provare e magari preferisci il suono senza) Enrico Link al commento https://melius.club/topic/1981-pre-a-valvole-autocostruito-con-le-76-magagne-e-errori/#findComment-82412 Condividi su altri siti Altre opzioni di condivisione...
mariovalvola Inviato 14 Maggio 2021 Condividi Inviato 14 Maggio 2021 Ciao Enrico. In Inghilterra ti annoi ? L'alimentazione è sbagliata. Con le correnti circolanti i 10H del primo induttore ( usato così), sono troppo pochi. Se non fosse correttamente schermato e pensato per il lavoro che deve svolgere, sarebbero dolori. Link al commento https://melius.club/topic/1981-pre-a-valvole-autocostruito-con-le-76-magagne-e-errori/#findComment-82785 Condividi su altri siti Altre opzioni di condivisione...
Stel1963 Inviato 14 Maggio 2021 Autore Condividi Inviato 14 Maggio 2021 @walge @mariovalvola @Ashareth vi posto le foto. I valori delle 2 induttanze (una sopra e una interna) non li ho ne li posso misurare. Il resto…. Sto lentamente rifacendolo. Non critico niente e nessuno, ma a me piace l’ordine e la precisione alla giapponese (stile Yamamoto per intenderci) Non sonse smontare tutto e recuperare i pezzi o andare avanti anrifarlo un pezzo alla volta. Già honrifatto una parte dei cablaggi. L’anodica andava di valvola in valvola con un unico filo, inpezzinerano incollati. Li sto scollando e fissando con fascette. Devo anche togliere il ponte diodi da quel condensatore a cui è incollato. Rovente come diventa, il condensatore dura un mese al massimo. ecco qui la girante. Praticamente l”idea geniale” e dinusare la valvola raddrizzatrice come ulteriore filtro per eliminare il ripple. Già visto sugli apparecchi economici cinesi. 🤷♀️. Magari serve. Boh Link al commento https://melius.club/topic/1981-pre-a-valvole-autocostruito-con-le-76-magagne-e-errori/#findComment-82808 Condividi su altri siti Altre opzioni di condivisione...
walge Inviato 14 Maggio 2021 Condividi Inviato 14 Maggio 2021 Ciao, sarò franco. Ma chi te lo fa fare? Smonta tutto e riparti dallo schema originale ri-montando in modo razionale. Per la sezione di alimentazione, se vuoi, strada facendo ne parliamo. Poi vedo un Alps non il volume ad induttore. Il commutatore per selezionare gli ingressi è penoso. Good luck! 🙂 Walter Link al commento https://melius.club/topic/1981-pre-a-valvole-autocostruito-con-le-76-magagne-e-errori/#findComment-82830 Condividi su altri siti Altre opzioni di condivisione...
mariovalvola Inviato 14 Maggio 2021 Condividi Inviato 14 Maggio 2021 @walgeHai ragione. Fai prima a partire da zero 1 Link al commento https://melius.club/topic/1981-pre-a-valvole-autocostruito-con-le-76-magagne-e-errori/#findComment-82831 Condividi su altri siti Altre opzioni di condivisione...
Moderatori joe845 Inviato 15 Maggio 2021 Moderatori Condividi Inviato 15 Maggio 2021 Concordo...😉 G Link al commento https://melius.club/topic/1981-pre-a-valvole-autocostruito-con-le-76-magagne-e-errori/#findComment-83060 Condividi su altri siti Altre opzioni di condivisione...
Stel1963 Inviato 15 Maggio 2021 Autore Condividi Inviato 15 Maggio 2021 @walge @mariovalvola @joe845 @Ashareth 11 ore fa, mariovalvola ha scritto: Hai ragione. Fai prima a partire da zero Avete ragione E’ quello che pensavo. Ma credevo di essere troppo critico! Ci metto meno a rifarlo completamente. Ma non riesco a metterci mano prima di ottobre (come al solito, sono un forumer/audiofilo stagionale😂😂😂😂). Nel frattempo oggi gli levo la girante e gli metto le resistenze, che almeno la raddrizzatrice raddrizza veramente e non mi viene il nervoso tutte le volte che guardo la “valvola finta”, e lo porto in campagna. A ottobre smonto tutto e ricostruisco. Lo schema postato da Enrico (grazie!!!) non è difficile da seguire, anzi. Mi servirà sicuramente una mano sul posizionamento e layout. Vorrei farlo tutto a ponticelli di ancoraggio bello preciso e pulito come i kit di Yamamoto. La 76 suona davvero in modo fantastico, e ne ho una bella scatola, una ventina di marche diverse tutte nuove e accoppiate in parte prese da un gentilissimo appassionato dell’Astigiano. Questo accrocchio lo ho commissionato e aspettato 4 mesi. Il primo non funzionava proprio (ronzio più forte del segnale audio) Vabbeh, almeno mi ha motivato a riprendere in mano il saldatore Visto che è da rifare ex novo pensavo ad una struttura proprio stile Yamamoto, base in legno superiore su cui viene montato tutto da sotto e scatola metallica sotto. Link al commento https://melius.club/topic/1981-pre-a-valvole-autocostruito-con-le-76-magagne-e-errori/#findComment-83081 Condividi su altri siti Altre opzioni di condivisione...
Messaggi raccomandati
Crea un account o accedi per lasciare un commento
Devi essere un membro per lasciare un commento
Crea un account
Iscriviti per un nuovo account nella nostra community. È facile!
Registra un nuovo accountAccedi
Sei già registrato? Accedi qui.
Accedi Ora