lupoal Inviato 31 Maggio 2021 Condividi Inviato 31 Maggio 2021 ... ti posso dire che nella pratica non mi pare faccia male... questo ampli cuffia (che fa anche da pre volendo) ha la possibilità di settare quattro diversi livelli di guadagno... 3 /5/7/10... più basso si sta meglio suona, io con una coppia di HD650 sto a 3 e ... il jazz lo ascolto con volume a ore 9 mentre la classica con volume a ore 12... oltre non mi serve mai andare Link al commento https://melius.club/topic/1981-pre-a-valvole-autocostruito-con-le-76-magagne-e-errori/page/5/#findComment-104438 Condividi su altri siti Altre opzioni di condivisione...
Stel1963 Inviato 31 Maggio 2021 Autore Condividi Inviato 31 Maggio 2021 3 minuti fa, lupoal ha scritto: ti posso dire che nella pratica non mi pare faccia male. Ok... qualunque controreazione ad anello ingresso uscita non è il massimo. MA se ce la hanno messa, vuol dire che senza magari si mette ad oscillare.... dato che lo hai in mano smontato potresti provare un potenziometro di ingresso. 50K... Comunque il little bear è un classico, e suonicchia pure in modo buono direi Link al commento https://melius.club/topic/1981-pre-a-valvole-autocostruito-con-le-76-magagne-e-errori/page/5/#findComment-104443 Condividi su altri siti Altre opzioni di condivisione...
lupoal Inviato 1 Giugno 2021 Condividi Inviato 1 Giugno 2021 9 ore fa, Stel1963 ha scritto: e suonicchia pure in modo buono direi con altre cuffie non saprei se ritenerlo o meno un buon prodotto, con le Sennheiser, e con delle valvole che non siano quelle di serie, suona piuttosto bene (esperienza diretta anche di confronto con un altro OTL dal costo 8 volte maggiore)... sarà perchè gli SRPP suonano già bene di loro, non saprei dire... se mi verrà voglia di cmbiare qualche cosa sarrano i condensatori elettrolitici da 220u sulle uscite, probabilmente con un altro elettrolitico di qualità più alta, ma a momento non ne sento l'esigenza vediamo ora che succede con alimentazione filamenti esterna, quella credo sia piuttosto importante e con peso non trascurabile su vita e qualità di funzionamento delle valvole... il resto, forse, più avanti (se non mi farò un OTL con le C3g) Link al commento https://melius.club/topic/1981-pre-a-valvole-autocostruito-con-le-76-magagne-e-errori/page/5/#findComment-104575 Condividi su altri siti Altre opzioni di condivisione...
Stel1963 Inviato 1 Giugno 2021 Autore Condividi Inviato 1 Giugno 2021 2 ore fa, lupoal ha scritto: se mi verrà voglia di cmbiare qualche cosa sarrano i condensatori elettrolitici da 220u sulle uscite, probabilmente con un altro elettrolitico di qualità più alta, Sono bypassati da un mkp da 4,7uf, quindi addirittura 1/50 della capacità. Quindi la loro influenza è secondaria. Forse la differenza maggiore la farebbe un buon mkt, da 5 o superiore. Trovo che gli Audyn rossi siano sorprendenti visto il costo. Molto dolci e lineari, ma trasparenti e dettagliati. Molto meglio dei Jantzen neri o dei Mundorf economici. Ne metti uno do 10uf e togli quello da 4,7 e potrebbe riservarti una bella sorpresa spendendo 15-20€ (li devi aspettare un 15 giorni dalla cina) Link al commento https://melius.club/topic/1981-pre-a-valvole-autocostruito-con-le-76-magagne-e-errori/page/5/#findComment-104732 Condividi su altri siti Altre opzioni di condivisione...
walge Inviato 1 Giugno 2021 Condividi Inviato 1 Giugno 2021 Leggendo i valori di tensione non credo ci sia bisogno di riferire i filamenti. Per la 95 non è richiesto proprio. Per la 6N6 visto che siamo ai 90 volt non è necessario. Ora per fare una cosa fatta bene e migliorare il rapporto s/n si potrebbero alimentare i filamenti in dc. Il problema è che la 6N6 assorbe molta corrente Lo schema riporta due secondari, valgono per i due canali? penso di sì LM317 per alimentare tutti i filamenti non è sufficente, siamo a circa 2,1 A totali e il 317 ha 1,5 A max Servirebbe l'LM350 con un buon dissipatore. Poi per regolare bene la tensione in ingresso del 317 (o 350) ci dovrebbero essere almeno 4 volt in più in ingresso rispetto all'uscita. Detto questo, il negativo dell'alimentatore dei filamenti va collegato insieme a quello generale del circuito attivo. W 1 1 Link al commento https://melius.club/topic/1981-pre-a-valvole-autocostruito-con-le-76-magagne-e-errori/page/5/#findComment-105211 Condividi su altri siti Altre opzioni di condivisione...
lupoal Inviato 2 Giugno 2021 Condividi Inviato 2 Giugno 2021 @walge grazie 🙂 ho preso un trafo con due secondari da 12Vac 25VA che andranno ad alimentare due circuitini credo molto validi che ho trovato su Amazon (questo) a pochi spiccioli... basati su LM317 dovrebbero darmi una portata max/nominale di 2,2A per un differenziale Vingresso - Vuscita minore di 15V e Pd minore di Pmax (data sheet)... l'LM317 cade di suo di circa 3V quindi immagino intendano la parte residua che in questo caso è ancora 3V, dovrei essere a posto (in effetti questa cosa della corrente massima sul LM317 è davvero ambigua... che diavolo significa 1,5A min e 2,2A typ ? credo gli 1,5A siano quelli minimi quando lo si tira per il collo e prima che entri in protezione) ho avuto qualche timore circa la corrente di spunto sui filamenti che, ho letto, in alcune valvole può essere fino a 3 volte quella a regime... ho però un amico che ci pilota due 6H8C (eqv. 6SN7GT) e non ha problemi di circuito che entra in protezione per sovraccarico, anche quelle sono 600mA cad. nominali... spero anche nel mio caso andrà tutto bene fra le uscite del trafo e gli ingressi delle elettroniche metto, uno per ciascuno, un fusibile in modo da proteggere il trafo se il ponte raddrizzatore dovesse mai andare in corto ok, quindi utilizzerò il +5Vdc che esce dal partitore resistivo, che se non prendo un granchio va quindi a 0V attraverso la resistenza inferiore, quella da 5k1 nello schema originario, per collegarlo allo 0Vdc in uscita al LM317 che alimenta le EF95... il resto rimane flottante grazie mille per l'aiuto, quando ho fatto posto una foto del parto (se non salto in aria prima 😄) 🙂 Link al commento https://melius.club/topic/1981-pre-a-valvole-autocostruito-con-le-76-magagne-e-errori/page/5/#findComment-105849 Condividi su altri siti Altre opzioni di condivisione...
walge Inviato 2 Giugno 2021 Condividi Inviato 2 Giugno 2021 @lupoal Se usi un alimentatore per ogni canale va bene; l'LM317 non può dare più di 1,5 A e non 2,2 A Il trafo va bene. Non devi usare il partitore. Devi collegare all'alimentatore i filamenti delle due valvole e collegare alla massa generale la massa di questo circuito W Link al commento https://melius.club/topic/1981-pre-a-valvole-autocostruito-con-le-76-magagne-e-errori/page/5/#findComment-105871 Condividi su altri siti Altre opzioni di condivisione...
lupoal Inviato 2 Giugno 2021 Condividi Inviato 2 Giugno 2021 ok grazie Link al commento https://melius.club/topic/1981-pre-a-valvole-autocostruito-con-le-76-magagne-e-errori/page/5/#findComment-106193 Condividi su altri siti Altre opzioni di condivisione...
Stel1963 Inviato 6 Novembre 2023 Autore Condividi Inviato 6 Novembre 2023 Il 14/5/2021 at 21:31, walge ha scritto: Ciao, sarò franco. Ma chi te lo fa fare? Smonta tutto e riparti dallo schema originale ri-montando in modo razionale. Per la sezione di alimentazione, se vuoi, strada facendo ne parliamo. Poi vedo un Alps non il volume ad induttore. Il commutatore per selezionare gli ingressi è penoso. Good luck! 🙂 Ottobre di 2 anni dopo. Finalmente ho avuto, anzi mi sono ritagliato, una giornata per rifare tutto. Fatto, finito, funzionante e silenzioso, ma rifatto con i pezzi di recupero e un alimentatore non suo, esterno, realizzato un paio di anni fa per un pre phono, e che per ora uso per sperimentare le 76. Finito e funzionante, non mi convince. La domanda che mi frullava in testa era... "ma davvero abbiamo bisogno di una 6SN7 collegata all'anodo per abbassare l'impedenza di uscita? Perchè non semplificare? Basta variare leggermente i punti di lavoro.... Abreve vi disegno il nuovo circuito per pareri e opinioni... Link al commento https://melius.club/topic/1981-pre-a-valvole-autocostruito-con-le-76-magagne-e-errori/page/5/#findComment-1007252 Condividi su altri siti Altre opzioni di condivisione...
Stel1963 Inviato 6 Novembre 2023 Autore Condividi Inviato 6 Novembre 2023 @walge @mariovalvola @sandrelli Si andrebbe da questo (quello originale) a Questo. Che dite? Link al commento https://melius.club/topic/1981-pre-a-valvole-autocostruito-con-le-76-magagne-e-errori/page/5/#findComment-1007325 Condividi su altri siti Altre opzioni di condivisione...
walge Inviato 6 Novembre 2023 Condividi Inviato 6 Novembre 2023 Con la 6Sn7 io farei scorrere 7-9 ma ma anche 10 con quelle tensioni se ti fai un po’ i conti scopriarai anche le resistenze da usare Link al commento https://melius.club/topic/1981-pre-a-valvole-autocostruito-con-le-76-magagne-e-errori/page/5/#findComment-1007399 Condividi su altri siti Altre opzioni di condivisione...
mariovalvola Inviato 6 Novembre 2023 Condividi Inviato 6 Novembre 2023 @Stel1963 Scusa. Non colgo il senso di avere un pre che esce ad alta impedenza. L'inseguitore catodico usato nello schema originario, ha senso. Perché devi aumentare il valore resistivo del potenziometro? Link al commento https://melius.club/topic/1981-pre-a-valvole-autocostruito-con-le-76-magagne-e-errori/page/5/#findComment-1007422 Condividi su altri siti Altre opzioni di condivisione...
Gustavino Inviato 6 Novembre 2023 Condividi Inviato 6 Novembre 2023 @Stel1963Se usi anodo ti serve il trasformatore di uscita ,come ti ha fatto notare MarioValvola , magari se usi il catodo ? tanto in guadagno non ti serve ,buffer Link al commento https://melius.club/topic/1981-pre-a-valvole-autocostruito-con-le-76-magagne-e-errori/page/5/#findComment-1007506 Condividi su altri siti Altre opzioni di condivisione...
walge Inviato 6 Novembre 2023 Condividi Inviato 6 Novembre 2023 Con l'uscita ad anodo come hai disegnato la impedenza sarebbe molto alta Poi su quale base hai modificato il valore delle resistenze? Ad occhio o seguendo un ragionamento ? ( comunque sbagliato) 4 ore fa, Stel1963 ha scritto: @walge @mariovalvola @sandrelli Si andrebbe da questo (quello originale) a Questo. Che dite? Link al commento https://melius.club/topic/1981-pre-a-valvole-autocostruito-con-le-76-magagne-e-errori/page/5/#findComment-1007557 Condividi su altri siti Altre opzioni di condivisione...
Stel1963 Inviato 6 Novembre 2023 Autore Condividi Inviato 6 Novembre 2023 1 ora fa, walge ha scritto: ad anodo come hai disegnato la impedenza sarebbe molto alta Vero, e non ho capito bene come si calcolano i valori per l'uscita a catodo 1 ora fa, walge ha scritto: Poi su quale base hai modificato il valore delle resistenze? Ad occhio o seguendo un ragionamento ? ( comunque sbagliato) Scegliendo i punti di lavoro e tentando di calcolare...Ug=più o meno 7V, Ia=3mA Rk = 7V / 0,003A = 2333R = 2,4K (2,5-2,7 se calcoliamo che Ug è >di 7V) 3 ore fa, mariovalvola ha scritto: Perché devi aumentare il valore resistivo del potenziometro? Vero... aumenterei anche l'impedenza di uscita cosa che non ha nessun senso.... per curiosità lo farei anche a trasformatori, a trovarli, ma non ho idea dei valori da usare, e ho paura che essendo sperimentazione, i costi siano molto alti. Collegando l'uscita al catodo, come la disegno, a livello di valori, ossia che valore prende r2? E R1? Quali svantaggi avrebbe, partendo dall'assunto che non mi serve un guadagno? Devo riaccendere il cervello dopo 2 anni, su qualcosa che conosco poco (si... e no, non ho il tempo di leggere e studiare tutto quello che vorrei... l'ho rimandato alla prossima vita) Link al commento https://melius.club/topic/1981-pre-a-valvole-autocostruito-con-le-76-magagne-e-errori/page/5/#findComment-1007632 Condividi su altri siti Altre opzioni di condivisione...
Stel1963 Inviato 6 Novembre 2023 Autore Condividi Inviato 6 Novembre 2023 4 ore fa, walge ha scritto: Con la 6Sn7 io farei scorrere 7-9 ma ma anche 10 con quelle tensioni ? VDC nel catodo intendi? Quindi ricalcolare la resistenza di catodo della 6sn7? Io speravo di eliminarla la 6sn7, piuttosto andando su trasformatori. Ma ho visto in giro quest'estate, curiosando, schemi che uscivano diretti credo. Perchè no? Non è un triodo che ha un'impedenza così alta da non poter essere usata senza un catode follower, se non si necessitano grandi guadagni o sbaglio? Amo molto la 6sn7 come pilota sui finali, ed anche nei pre è una valvola fantastica.... ma per usarla qui tanto valeva fare un pre con 2 6sn7.... srpp (se ho capito bene cosa è....) o cathode follower Link al commento https://melius.club/topic/1981-pre-a-valvole-autocostruito-con-le-76-magagne-e-errori/page/5/#findComment-1007651 Condividi su altri siti Altre opzioni di condivisione...
walge Inviato 6 Novembre 2023 Condividi Inviato 6 Novembre 2023 25 minuti fa, Stel1963 ha scritto: ? VDC nel catodo intendi? Quindi ricalcolare la resistenza di catodo della 6sn7? Io speravo di eliminarla la 6sn7, piuttosto andando su trasformatori. Ma ho visto in giro quest'estate, curiosando, schemi che uscivano diretti credo. Perchè no? Non è un triodo che ha un'impedenza così alta da non poter essere usata senza un catode follower, se non si necessitano grandi guadagni o sbaglio? Però un pò di teoria dovresti leggerla. La impedenza interna dell 6SN7 non è elevata ma semppre 7,7 kohm sono e questo condiziona il valore effettivo Poi senza bypassare la Rk con il cap, in ac , quella ressitenza x il mu fa part del circuito equivalente. Di fatto tutto di venta un pò più compicato. Poi io fare scorrere molta più corrente nelle valvola. Diciamo 6 mA All'anodo dovresti avere 230 /2 = 115 volt quindi 115/6 = 20 kohm per farla breve 20 kohm è tre volte le Rp della alvola e ci possiamo stare Ma un check della retta di carico sulle curve caratteristiche dovrebbe essere fatto. Se vogliamo fissare a - 4 volt il punto di lavoro = 4 volt/ 6 mA = 680 ohm + il cap in paralllelo A grandi linee La impedenza di uscita, tenendo conto che il carico a valle sia ininfluente ( ma non potrà esserlo per differenti motivi) sarebbe 5 kohm circa Se tu potessi arrivare a 300 Vdc sarebbe meglio. 1 Link al commento https://melius.club/topic/1981-pre-a-valvole-autocostruito-con-le-76-magagne-e-errori/page/5/#findComment-1007690 Condividi su altri siti Altre opzioni di condivisione...
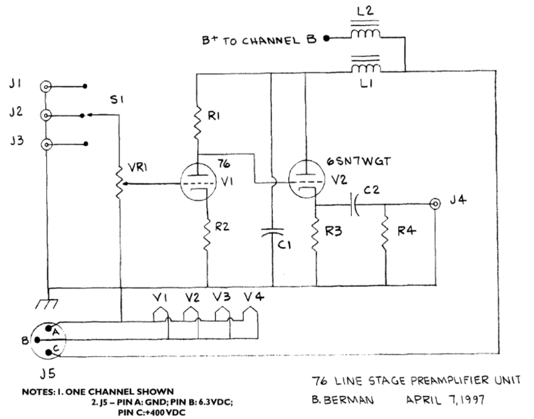
Gustavino Inviato 6 Novembre 2023 Condividi Inviato 6 Novembre 2023 Berman article in Sound Practice 13 1 Link al commento https://melius.club/topic/1981-pre-a-valvole-autocostruito-con-le-76-magagne-e-errori/page/5/#findComment-1007729 Condividi su altri siti Altre opzioni di condivisione...
Messaggi raccomandati
Crea un account o accedi per lasciare un commento
Devi essere un membro per lasciare un commento
Crea un account
Iscriviti per un nuovo account nella nostra community. È facile!
Registra un nuovo accountAccedi
Sei già registrato? Accedi qui.
Accedi Ora