ediate Inviato 17 Aprile 2021 Condividi Inviato 17 Aprile 2021 @dadox Se Bose mi pagasse, gli farei vendere una valanga di 901... 😂 Da me andavano una favola. Link al commento https://melius.club/topic/1007-bose-901-la-leggenda-%C3%A9-ancora-viva/page/5/#findComment-46291 Condividi su altri siti Altre opzioni di condivisione...
Stereo Inviato 19 Aprile 2021 Condividi Inviato 19 Aprile 2021 buongiorno a tutti riprendo anche io questa discussione. Pur non essendo lo stesso modello, sono anche io un possessore di una coppia di Bose 802 series2 che uso con soddisfazione in casa, collegate all'impianto Hi-Fi e pilotate da un finale Technics SE 9200 Paolo Link al commento https://melius.club/topic/1007-bose-901-la-leggenda-%C3%A9-ancora-viva/page/5/#findComment-48665 Condividi su altri siti Altre opzioni di condivisione...
dadox Inviato 19 Aprile 2021 Autore Condividi Inviato 19 Aprile 2021 3 ore fa, Stereo ha scritto: Pur non essendo lo stesso modello, sono anche io un possessore di una coppia di Bose 802 series2 ...che sono le sorelle “minori” della 901, il primo diffusore Pro di Bose destinato al sound enforcement che attinse (e con successo) all’equalizzazione attiva e che fa uso dei drivers HVC, sebbene in versione customizzata appositamente per loro. Impedenza drivers in serie diversa, per ottenere gli 8 ohm necessari, evoluti sotto forma di esemplari in tela dalla seconda serie. Attenti quindi a non sbagliarsi ad adottarli sulle 901 solo perché all’apparenza identici (colore a parte). Non sono compatibili ai fini di una corretta performance. Stessa cosa con la 402. Ogni modello di driver HVC ha un cuore diverso. Link al commento https://melius.club/topic/1007-bose-901-la-leggenda-%C3%A9-ancora-viva/page/5/#findComment-48994 Condividi su altri siti Altre opzioni di condivisione...
Stereo Inviato 19 Aprile 2021 Condividi Inviato 19 Aprile 2021 @dadox corretto: le mie 802 adottano gli HVC con la sospensione in tela e non sfruttano il sistema direct reflecting in quanto emettono solo frontalmente. Nell'uso professionale infatti, raramente si può disporre di una superficie riflettente correttamente distanziata. Inoltre, come già scrissi, io le utilizzo senza l'equalizzatore dedicato in quanto mi è sufficiente compensare il calo alle frequenze acute causato dalle rete di condensatori (posti in parallelo ad alcune coppie di drivers) del sistema di controllo della dispersione con una opportuna esaltazione del controllo "treble" del preamplificatore. I filtri a ripida pendenza che l'equalizzatore attivo presenta (anti larsen e anti sovraccarico) non sono inoltre necessari nel mio utilizzo "home" in quanto ascoltando a volume normale, i meters del Technics raggiungono a mala pena 0,1W Link al commento https://melius.club/topic/1007-bose-901-la-leggenda-%C3%A9-ancora-viva/page/5/#findComment-49019 Condividi su altri siti Altre opzioni di condivisione...
dadox Inviato 19 Aprile 2021 Autore Condividi Inviato 19 Aprile 2021 17 minuti fa, Stereo ha scritto: le mie 802 adottano gli HVC con la sospensione in tela e non sfruttano il sistema direct reflecting in quanto emettono solo frontalmente. Nell'uso professionale infatti, raramente si può disporre di una superficie riflettente correttamente distanziata. Beh, la 901 è un diffusore fine a se stesso, le varianti per il professional le hanno curate per le più scariate esigenze. 17 minuti fa, Stereo ha scritto: io le utilizzo senza l'equalizzatore dedicato in quanto mi è sufficiente compensare il calo alle frequenze acute causato dalle rete di condensatori (posti in parallelo ad alcune coppie di drivers) del sistema di controllo della dispersione con una opportuna esaltazione del controllo "treble" del preamplificatore Come mai? Non sarebbe più semplice utilizzare il loro controller? Escludendo per un attimo che le 802 sono diffusori appositamente limitati, i loro “compari” sarebbero i Tandem, 502b, un bel controller Panaray e piloti praticamente qualsiasi diffusore professionale Bose, tutti i settaggi ed abbinamenti possibili precaricati, un capolavoro di controller. Link al commento https://melius.club/topic/1007-bose-901-la-leggenda-%C3%A9-ancora-viva/page/5/#findComment-49030 Condividi su altri siti Altre opzioni di condivisione...
Stereo Inviato 19 Aprile 2021 Condividi Inviato 19 Aprile 2021 @dadox perchè le 802, desiderandole perfette, le ho acquistate nuove ma le ho trovate senza l'equalizzatore. Ho avuto modo di averlo in prestito (il loro originale ovviamente) ma, ad ascolti fatti, non ho trovato poi così tanta differenza tra la soluzione "con" e quella "senza + esaltazione dei toni alti", perlomeno nelle mie condizioni di utilizzo che sono, ripeto, abbastanza anomale per due casse professionali PA. Per quanto riguarda il loro subwoofer 502 non l'ho adottato perchè sinceramente non ne sento la mancanza, perlomeno per i generi musicali che ascolto (disco music) che non presentano generalmente frequenze al di sotto dei 50 Hz. Se dovessi proprio "fare la pazzia" vi abbinerei le Acoustic Wave Cannon ma solo per il fatto che "mi fanno sesso ahahah" non per la mancanza di bassi delle 802 Link al commento https://melius.club/topic/1007-bose-901-la-leggenda-%C3%A9-ancora-viva/page/5/#findComment-49734 Condividi su altri siti Altre opzioni di condivisione...
Kouros Inviato 19 Aprile 2021 Condividi Inviato 19 Aprile 2021 Appena mi sono imbattuto in questo video ho subito pensato a questo thread e a cosa il suo ideatore avrebbe potuto pensare del posizionamento delle 901 😇 Comunque sembra un gran suono a prescindere ! https://www.youtube.com/watch?v=Hbwf4OOAjAY Link al commento https://melius.club/topic/1007-bose-901-la-leggenda-%C3%A9-ancora-viva/page/5/#findComment-49937 Condividi su altri siti Altre opzioni di condivisione...
dadox Inviato 20 Aprile 2021 Autore Condividi Inviato 20 Aprile 2021 @Kouros Il Tubo rigurgita di clips sulle 901. Una vergogna. Praticamente non ho visto un solo video con i diffusori piazzati correttamente. Ah, certo, il timbro principalmente è quello che salta subito all’orecchio, la neutralità ed la presenza al contempo, però come si fa ad ottenere i risultati che prevede il costruttore se le metti come capita? Puó essere anche una soluzione posizionarle così come nel video che hai postato, ma se il manuale spiega che necessitano di almeno un minimo di 60 cm di respiro attorno a loro e 1 metro dagli oggetti circostanti, come fa il suono a non uscirne strozzato? Prima di arrivare a certe soluzioni avranno almeno fatto prove? O son partiti in quarta sin da subito, senza provare se ne valeva la pena? Link al commento https://melius.club/topic/1007-bose-901-la-leggenda-%C3%A9-ancora-viva/page/5/#findComment-49946 Condividi su altri siti Altre opzioni di condivisione...
dadox Inviato 20 Aprile 2021 Autore Condividi Inviato 20 Aprile 2021 6 ore fa, Stereo ha scritto: perchè le 802, desiderandole perfette, le ho acquistate nuove ma le ho trovate senza l'equalizzatore. Senza il loro controller. Che è opzionale non perché uno può scegliere se farle suonare senza, ma perché vi sono diverse possibilità di abbinamento, quindi in base all’utilizzo che il possessore decide quale tipo di metodo mettere in campo. 1- controller 802. Quello basico, che solitamente accompagna 1 o più coppie di diffusori. 2- il controller Panaray. Contiene al suo interno le equalizzazioni attive di tutto il panorama dei diffusori Bose pro, ed i preset di tutti gli abbinamenti possibili, dal più semplice al più complesso. 3- Schede di controllo interne, inseribili negli slot dedicati dei finali Bose in commercio, esclusi i finali 1800 serie I e II. Ma si parla sempre e comunque di sistemi inseparabili, le Bose ce l’hanno come principio, non si può fare (nè si deve fare) altrimenti. So come suonano le 802, c’è una gran differenza fra ascoltarle con e senza il controller, ma tanta! Ma sei sicuro di averlo collegato bene? Tra l’altro, ingressi e uscite del controller sono solo bilanciate, se lo si collega ad un impianto hifi domestico solitamente gli in/out bilanciati sono presenti soltanto su elettroniche di alto livello. Bisogna acquistare, o preparare, cavi adattabili alla situazione. Un bel pre con uscite bilanciate, un bel finale da 250 w con in mezzo (in cascata) il controller e vedi cosa viene fuori da quei due affari neri!... Cannone acustico? Lo sai, si, che anche lui abbisogna di controller apposito? Tutti necessitano di essere equalizzati per essere postati agli estremi di gamma di frequenze, incluso il cannone acustico, che essendo a guida d’onda potrà arrivare a generare il famoso basso terremoto. No controller, no reazione della guida d’onda= un cono a larga banda medioso! Senza i controllers, qualsiasi Bose suonerà come una scatola mediosa. Quei larga banda sono progettati per essere equalizzati, molto pesantemente, sono stati concepiti per lavorare in tal senso, non serve a nulla abbinargli accrocchi della concorrenza, tantomeno farli lavorare senza quello nativo. Non è questione di scegliere, semplicemente non va fatto! Fossi in te rivedrei meglio la situazione, potresti sorprenderti. Link al commento https://melius.club/topic/1007-bose-901-la-leggenda-%C3%A9-ancora-viva/page/5/#findComment-49947 Condividi su altri siti Altre opzioni di condivisione...
Stereo Inviato 20 Aprile 2021 Condividi Inviato 20 Aprile 2021 @dadox come ti ho scritto, ho avuto a disposizione il controller equalizzatore per diversi giorni (alcune settimane), pertanto ho potuto effettuare diverse prove. Trattavasi della versione 802C con alette laterali per fissaggio rack e dotata sia di ingressi/uscite bilanciati che sbilanciati (jack). E' stato inserito come indicato sulle istruzioni tra pre (Carver C1) e finale (Technics SE 9200) Sempre restando nei limiti di ascolto (volume da appartamento) e genere musicale (disco) che utilizzo io la commutazione Bypass yes/no dell'802C non ha portato significativi cambiamenti, a patto di effettuare la correzione delle alte frequenze. E' certamente vero che la curva di equalizzazione apportata è sicuramente pesante (ho anche il grafico) ma l'introduzione di un ulteriore componente nella catena, che conta già svariati compressori-espansori di dinamica, unità di espansione di immagine stereofonica, simulatori di quadrifonia, equalizzatori ecc... non trovava, sempre a mio avviso, significativa giustificazione. Ribadisco che sono pienamente soddisfatto del suono delle 802 che, tengo a precisare, hanno sostituto delle Acoustat Monitor elettrostatiche (ero abituato ad ascoltare bene, per intenderci...) Link al commento https://melius.club/topic/1007-bose-901-la-leggenda-%C3%A9-ancora-viva/page/5/#findComment-49997 Condividi su altri siti Altre opzioni di condivisione...
dadox Inviato 20 Aprile 2021 Autore Condividi Inviato 20 Aprile 2021 1 ora fa, Stereo ha scritto: non ha portato significativi cambiamenti, a patto di effettuare la correzione delle alte frequenze. Ma per sicurezza tu lascialo inserito nel circuito. Gli altri eventuali correttori li aggiungi. Non è un optional, deve essere utilizzato anche se non ti soddisfa da solo. Link al commento https://melius.club/topic/1007-bose-901-la-leggenda-%C3%A9-ancora-viva/page/5/#findComment-50091 Condividi su altri siti Altre opzioni di condivisione...
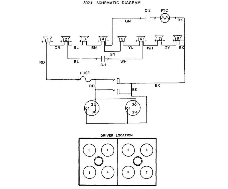
Stereo Inviato 20 Aprile 2021 Condividi Inviato 20 Aprile 2021 @dadox non ce l'ho più, l'ho avuto solo in prova e l'ho reso. Se posso dire ancora qualcosa sulle 802 (il thread riguarda le 901, me ne scuso) mi ha incuriosito parecchio il "crossover" interno che la Bose chiama "directivity control circuit" Tale filtro consiste in alcuni condensatori posti in parallelo ai drivers laterali della fila superiore e centrali della fila inferiore, mentre quelli laterali della fila inferiore sono ulterirmente attenuati da un altro condensatore. Praticamente solo i drivers centrali in alto riproducono l'intero segnale in ingresso. Un modo semplice ed ingegnoso per focalizzare l'emissione sfruttando il principio della radiazione di gruppo, che viene ulteriormente enfatizzato quando si installano in "stacking" sovrapponendo più casse in modo da realizzare l'array Il controller (nel mio caso il comando treble) compensa tale attenuazione. Link al commento https://melius.club/topic/1007-bose-901-la-leggenda-%C3%A9-ancora-viva/page/5/#findComment-50122 Condividi su altri siti Altre opzioni di condivisione...
dadox Inviato 20 Aprile 2021 Autore Condividi Inviato 20 Aprile 2021 In base a quanto leggo un pò dappertutto, vedo, scopro, dopo anni e anni di esperienze in tema Bose, mi sento, purtroppo per certi versi troppo tardi, di cercare di chiarire i motivi delle critiche spesso mosse ai possessori di prodotti Bose. Ovviamente, da dove si presume sia iniziato tutto? La mia teoria é che proprio Bose sia la prima ad essere chiamata in causa. Lei e ovviamente, il correlato Sistema 901. Secondo mio umile parere, Bose ha fatto in grande (e molto bene) una campagna di presentazione del proprio concetto Direct/Reflecting sin dai primi giorni, scatenando un putiferio fra gli appassionati legati alle tradizioni, e l’impatto sul pubblico fu positivissimo. Erano gli anni60, quasi 70, quando l’Azienda decise di migliorare il progetto 901, introducendo i famosi drivers HVC, la Matrice Acustica, e di conseguenza potenze in watt incredibili per un diffusore in grado di convertire tali ingressi di corrente in energia non da sopportare, bensì da restituire all’ascoltatore. Solo che la campagna informativa, forse perchè Bose smise troppo presto di informare il mondo del principio di funzionamento del Sistema 901, cosa fecero? Con l’ingresso sul mercato del modello serie III, introdussero anche l’elettronica accoppiata, sotto forma del Bose Spatial Control Receiver, un evoluto sintoamplificatore (in quegli anni erano parecchio in voga) che prevedeva la possibilità di collegarvi praticamente ogni diffusore possibile immaginabile. Era dotato di equalizzatore attivo 901 interno, quindi in perfetta simbiosi con le 901, ma poteva essere escluso tramite selettore posteriore se i diffusori collegati non erano 901. Si poteva pilotare le 901 sulla coppia A attivando l’equalizzazione, la coppia B senza, o A+B equalizzate, oppure A+B senza. E 100w rms per canale su 4 uscite. Ma il vero punto di forza che cosa era? Il terzo polo in uscita, che andava logicamente connesso al terzo polo che fu presente sui diffusori 901, dalla serie III alla IV. Esso permetteva di allargare e stringere la scena musicale in base al genere, ampliandola in caso di orchestre, stringendola nel caso di piccoli gruppi jazz, ad esempio. Tutto molto bello, ma io penso che molti svarioni ed incomprensioni sul funzionamento del Sistema 901 iniziò proprio da qui. Innanzitutto quasi nessuno, Bose inclusa, affidava i propri manuali utente alla traduzione nelle lingue principali. Col tempo i rappresentanti stessi calarono il tiro nelle campagne di comunicazione negozianti/clienti. E piano piano l’ignoranza dilaga, e chi non ebbe la corretta informazione, permise alla disinformazione stessa di prender piede, e l’utenza finale iniziò a paragonare la 901 ad un diffusore “normale”, con un equalizzatore opzionale..ma perché? Perchè, secondo me fu deleteria per la conoscenza, ma inizialmente vantaggiosa a livello commerciale l’offerta che Bose fece per lanciare sul mercato lo Spatial Control Receiver. Più o meno all’epoca necessitavano due miioni di lire per una coppia di 901 e il loro equalizzatore (che é di serie, non lo vendevano a parte), ma se si acquistava la coppia di 901 e il receiver scontavano di parecchio il trittico, e non portavi a casa l’equalizzatore attivo, perchè giustamente incorporato nel receiver. Ma nel far questo, vuoi per le mancate traduzioni in lingua dei manuali, vuoi per la smania di vendere ad ogni costo, tutto questo ha iniziato a generare il rovescio della medaglia, e dove? Ma sull’usato, ovviamente. Metti caso che un possessore del receiver+901 decidesse di dar via le casse, perchè tanto aveva un altro paio facìlmente adattabili all’elettonica, ma ignorava che le 901 necessitassero di eq. attiva (perchè incorporata nel receiver) che credete che si portasse a casa l’amico l’acquirente? Diffusori malsuonanti, magari convinto fosse un problema dell’ambiente suo, e magari tentando di compensare con equalizzatori tradizionali (difficile trovare chi in quegli anni ne fosse sprovvisto). Da lì alla brutta reputazione il passo é breve! Nel tempo la chiazza diventa un lago, da un lago si fa presto a diventare un mare, dal mare all’oceano! Altrimenti come si spiega tutto questo sparlare di Bose? La 901 é stata definita dalla stampa come il miglior sistema audio al mondo, un giudizio tale da rischiare di rimetterci la faccia, dai migliori analisti e giornalismo di settore. Ha sempre tenuto testa alle più grandi leggende, ai top di gamma di Tannoy, Klipsch e compagnia cantante. È senza senso, fuori da ogni ragionamento che adesso venga additata come fosse porcheria. Ma stiamo scherzando? Se un diffusore raggiunge un primato, che suona divinamente etc, lo farà ancora dopo decenni! Allora tiriamo in ballo anche le sue antagoniste…le Westminster sono degli armadi matrimoniali, e le La Scala delle scarpiere! Le portiamo dal rigattiere? Non penso proprio che i possessori siano granchè d’accordo! Se suonavano ottimamente prima, lo fanno ancora oggi! Qualsiasi diffusore! Ergo, l’ignoranza, il sentito dire, aver ascoltato per sbaglio le 901 disequalizzate, genera maldicenze su un diffusore che si é guadagnato l’appellativo di Leggendario, e scusate se é poco… Ipotesi…se io sono a crudo di come funzioni la 901 (ma comunque sono un appassionato, e di impianti ne ho già ascoltati parecchi), e mi reco a casa di un tale che sfortunatamente le ha mal settate (ma io non sono in grado di capire come, e prendo la situazione per buona), come pensate possa reagire ad un ascolto? Suono spento, prevalenza di medie frequenze, riflessione non presente, estremi di gamma in basso e sopratutto in alto da dimenticare. I sintomi ci son tutti, le cause anche. Ignoranza, maldicenze, gossip negativi, con l’avvento di Internet poi, é tutto detto.Ovvio che nel tempo, complice il calo dell’interesse generale per l’hifi, il cui interesse generale viene soppiantato del più “emozionante” hometheater, si tende più a andare appresso alle mode, e Bose, come altri, ha volto lo sguardo altrove, sviluppando ricerca e prodotti di altro genere, lasciando in un angolo del sito dapprima la 901, la 301 e il Sistema Acoustimass, e oggi solo la 301. Non abbandonano certo la clientela, con l’ultimo modello di 901 VI é ancora oggi possibile appoggiarsi all’Assistenza Ufficiale, per riparazioni o upgrades. Ciò non toglie che oramai nel tempo Bose non può stare certo alla finestra a vedere se le nuove generazioni di audiofili siano in grado di riscattarla facendole risalire la china dello sputtanamento. on possono più sperare nella rinascita di un settore i cui clienti hanno perso per strada l’interesse di ciò che era di moda almeno 30 anni fa. Non per nulla noi italiani le mode le creiamo, poi le abbandoniamo. In Europa, perlomeno di Germania, la 901 é ancora un numero 1, mentre da noi in Italia, almeno per chi ha vissuto quel periodo, oramai viviamo di ricordi di quando entravi in negozio e trovavi con regolarità i piedistalli 901 in demo vuoti, perchè i rivenditori erano costretti a vendere anche quelle, con gli ordini che venivano fatti di settimana in settimana e che andavano subito esaurite. E adesso? Adesso occhio a quello che offre il mercato dell’usato. Anche le voci sull’uscita di scena dal catalogo girano oramai da un bel pò, e gli annunci fioccano a raffica, a prezzi sempre più alti, e spesso di esemplari smanettati. Vanno presi con le pinze, informandosi nel migliore dei modi, prima di procedere con le trattative. Buone condizioni dei drivers, non tarocchi, cosmetica esteriore, componentistica equalizzatore attivo, e assicurarsi che quest’ultimo appartenga alla stessa serie dei diffusori. Se non combaciano bisogna perlomeno tenere conto di cosa raccomanda il costruttore: - Serie I e II… equalizzatore attivo serie II: compatibile anche con la 901 serie I. - Serie III e IV… equalizzatore attivo serie IV: compatibile anche con la 901 serie III. - Serie V e VI… equalizzatore attivo serie VI: compatibile anche con la 901 serie V. Serie VI ver.2… equalizzatore attivo serie VI ver.2: incompatibile con le altre serie. Link al commento https://melius.club/topic/1007-bose-901-la-leggenda-%C3%A9-ancora-viva/page/5/#findComment-50218 Condividi su altri siti Altre opzioni di condivisione...
Stereo Inviato 20 Aprile 2021 Condividi Inviato 20 Aprile 2021 @dadox complimenti per la disamina, dalla quale traspare tutta la tua passione. Io sono meno "aficionado" del marchio, sebbene ne riconosca le qualità (altrimenti non le avrei comprate) e le soluzioni uniche ed ingegnose che danno ragione al motto "better sound through research" Personalmente (quindi è soggettivo) le esperienze di ascolto migliori che ho vissuto in tema di altoparlanti sono quelle con: - Acoustat Monitor (splendide ma inaffidabili) - Klipsch MCM 1900 (da orgasmo 🙂 avendo posto dove metterle - Bose 802 (le mie attuali) Interessante inoltre la funzione "spatial" di quel receiver, sai su cosa agiva ? Link al commento https://melius.club/topic/1007-bose-901-la-leggenda-%C3%A9-ancora-viva/page/5/#findComment-50281 Condividi su altri siti Altre opzioni di condivisione...
dadox Inviato 20 Aprile 2021 Autore Condividi Inviato 20 Aprile 2021 2 minuti fa, Stereo ha scritto: nteressante inoltre la funzione "spatial" di quel receiver, sai su cosa agiva ? Sul terzo polo incorporato nella morsettiera della serie III e IV. So che va ad aggangiarsi ad uno dei drivers, ma non ricordo bene. Link al commento https://melius.club/topic/1007-bose-901-la-leggenda-%C3%A9-ancora-viva/page/5/#findComment-50288 Condividi su altri siti Altre opzioni di condivisione...
Stereo Inviato 20 Aprile 2021 Condividi Inviato 20 Aprile 2021 @dadox conoscendo l'ingegnosità di Bose potrebbe (ad intuito mio) trattarsi del sistema matrix che aggiunge ad un canale una frazione di quello opposto invertito di fase. Si tratta infatti di far riprodurre ad uno o più drivers il segnale differenza (L-R) tra i canali, cioè la separazione. Ciò amplia la base di ascolto stereo Link al commento https://melius.club/topic/1007-bose-901-la-leggenda-%C3%A9-ancora-viva/page/5/#findComment-50342 Condividi su altri siti Altre opzioni di condivisione...
Stereo Inviato 22 Aprile 2021 Condividi Inviato 22 Aprile 2021 @dadox questo in termini elettrici è ciò che ti ho scritto circa il "crossover" delle 802. Come puoi vedere, solo i drivers 1 e 2 riproducono l'intero spettro. molto geniale.... Link al commento https://melius.club/topic/1007-bose-901-la-leggenda-%C3%A9-ancora-viva/page/5/#findComment-52901 Condividi su altri siti Altre opzioni di condivisione...
dadox Inviato 22 Aprile 2021 Autore Condividi Inviato 22 Aprile 2021 Il 20/4/2021 at 11:42, Stereo ha scritto: nteressante inoltre la funzione "spatial" di quel receiver, sai su cosa agiva ? Corretto. Cerchiamo peró di un andare troppo fuori argomento, le 802 son tutt’altro diffusore, richiedono un eventuale altra apertura in separata sede. Link al commento https://melius.club/topic/1007-bose-901-la-leggenda-%C3%A9-ancora-viva/page/5/#findComment-53138 Condividi su altri siti Altre opzioni di condivisione...
Messaggi raccomandati
Crea un account o accedi per lasciare un commento
Devi essere un membro per lasciare un commento
Crea un account
Iscriviti per un nuovo account nella nostra community. È facile!
Registra un nuovo accountAccedi
Sei già registrato? Accedi qui.
Accedi Ora